
Originele gebruiksaanwijzing




|
Beschrijving
|
Temperatuur
|
|---|---|
|
Bedrijfstemperatuur
|
-30° tot +50°C
|
|
Temperatuurbereik bij opslag
|
-30° tot +50°C
|
|
Naam van de fabrikant:
|
engcon Nordic AB
|
|---|---|
|
Adres:
|
Box 111, SE-833 22 Strömsund, ZWEDEN
|
|
Telefoon:
|
+ 46 670 178 00
|
|
E-mail:
|
info@engcon.se
|
|
Typeaanduiding:
|
|
|---|---|
|
Art.nr.:
|
Serienummer:
|
|
Max. hijspunt:
|
Max. hydr. druk:
|
|
Datum:
|
Overig:
|
|
Osynlig fras
|
![]() |
|
Krister Blomgren - Gemachtigde vertegenwoordiger, engcon Nordic AB
|
|
Osynlig fras
|
![]() |
Gevaar
| |
|
Geeft aan dat er een ongeval zal plaatsvinden indien de voorschriften niet worden opgevolgd. Risico op persoonlijk letsel of ongeval met dodelijke afloop.
|
![]() |
Waarschuwing
| |
|
Geeft aan dat er een ongeval kan plaatsvinden indien de voorschriften niet worden opgevolgd. Risico op persoonlijk letsel of ongeval met dodelijke afloop.
|
![]() |
Voorzichtig
| |
|
Geeft aan dat er een ongeval zal plaatsvinden indien de voorschriften niet worden opgevolgd. Risico op persoonlijk letsel.
|
|
Belangrijk
| ||
|
Geeft aan dat er een ongeval kan plaatsvinden indien de voorschriften niet worden opgevolgd. Risico op schade aan eigendom, werkproces of omgeving.
|
|
Opmerkingen
| ||
|
Extra informatie die de uitvoering of het begrip voor bepaald werk kunnen vereenvoudigen.
|
![]() |
Gevaar
| |
|
De grenzen voor kantelbelasting mogen niet worden overschreden. Het gewicht van het product en de extra reikwijdte kunnen de stabiliteit nadelig beïnvloeden. Risico op persoonlijk letsel en schade aan eigendom.
|
![]() |
Waarschuwing
| |
|
Onderbreek het werk onmiddellijk en controleer waarom het systeem tijdens bedrijf een waarschuwing voor incorrecte aankoppeling geeft. Risico op persoonlijk letsel en schade aan eigendom.
|
![]() |
Voorzichtig
| |
|
Gebruik gehoorbescherming tijdens werk in nabijheid of hantering van een Q-Safe snelwissel wanneer deze is aangekoppeld. Risico op gehoorbeschadiging.
|
![]()
Afbeelding1.
|
![]() |
|
Positie
|
Beschrijving
|
|---|---|
|
1
|
Voedingsspanning
|
|
2
|
Alarmindicatie
|
|
3
|
Sensor op haak voor werktuigbevestiging op machine
|
|
4
|
Sensor uitstootmechanisme voor werktuigbevestiging op machine
|
|
5
|
Sensor op haak voor werktuigbevestiging
|
|
6
|
Sensor op uitstoter voor werktuigbevestiging
|
|
7
|
Waarschuwingslicht
|
![]() |
Waarschuwing
| |
|
Onderbreek het werk onmiddellijk en controleer waarom het systeem tijdens bedrijf een waarschuwing voor incorrecte aankoppeling geeft. Risico op persoonlijk letsel en schade aan eigendom.
|
![]() |
Voorzichtig
| |
|
Gebruik gehoorbescherming tijdens werk in nabijheid of hantering van een Q-Safe snelwissel wanneer deze is aangekoppeld. Risico op gehoorbeschadiging.
|
![]()
Afbeelding2.
|
![]() |
|
Positie
|
Beschrijving
|
|---|---|
|
1
|
Voedingsspanning
|
|
2
|
Alarmindicatie
|
|
3
|
Indicatie voor open snelwissel
|
|
4
|
Waarschuwingslicht
|

![]() |
![]() |
|
Afbeelding4.
|
|
Positie
|
Beschrijving
|
Commentaar
|
|---|---|---|
|
CMX1
|
CAN Graafsysteem
| |
|
CMX2
|
CAN Rotatiesensor
| |
|
1
|
Verkeersindicatie Graafsysteem
|
Groene lichtdiode
|
|
2
|
Status C2C (Alarmindicatie)
|
Rode lichtdiode
|
|
3
|
Verkeersindicatie Rotatiesensor
|
Groene lichtdiode
|
![]() |
Waarschuwing
| |
|
Probeer de maximumcapaciteit van de uitrusting nooit te veranderen door modificaties die niet zijn goedgekeurd door de leverancier. Risico op persoonlijk letsel en schade aan eigendom.
|
![]() |
Waarschuwing
| |
|
Lassen is niet toegestaan. Dit kan de veiligheid negatief beïnvloeden. Risico op persoonlijk letsel en schade aan eigendom. Voor laswerk, raadpleeg uw dealer of engcon Nordic AB.
|
![]() |
Waarschuwing
| |
|
Let vooral op de beweegbare details. Onoplettendheid kan beknellingsschade veroorzaken. Risico op persoonlijk letsel.
|
![]() |
![]() |
|
Belangrijk
| ||
|
Waarborg vóór montering de mengbaarheid ten opzichte van de hydraulische olie van de basismachine. In geval van de geringste twijfel, raadpleeg de leverancier voor de smeermiddelen. Een onjuist mengsel kan beschadigingen aan de hydraulische componenten veroorzaken.
|
|
Gegevens op typeplaatje:
|
![]() |
|
Artikelnummer
|
|
|
Typeaanduiding
|
|
|
Serienummer
|
|
|
Bouwjaar
|
|
|
Gewicht
|
|
|
Max. hijshaak
|
|
|
Max. hydraulische druk
|
|
|
Afbeelding6.
|
![]() |
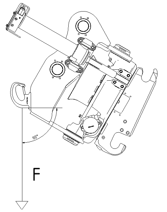
Als het draaikantelstuk aan een werktuigbevestiging moet worden gekoppeld, moet de bij machine behorende handleiding voor de aankoppeling van werktuigen worden gebruikt.
|
![]() |
Gevaar
| |
|
De grenzen voor kantelbelasting mogen niet worden overschreden. Het gewicht van het product en de extra reikwijdte kunnen de stabiliteit nadelig beïnvloeden. Risico op persoonlijk letsel en schade aan eigendom.
|
![]() |
Waarschuwing
| |
|
In geval van twijfel wat betreft kennis, uitrusting of werk ten aanzien van veiligheidsdetails, neem contact op met de dealer of engcon Nordic AB. Incorrecte montage kan de veiligheid in gevaar brengen.
|
|
Belangrijk
| ||
|
Montage en installatie mogen alleen worden uitgevoerd bij een door de fabrikant erkende werkplaats. Veranderingen wat betreft de montage mogen niet worden gedaan zonder toestemming van de fabrikant.
|
![]()
Afbeelding7.
|
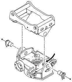
Voorafgaand aan de montage
|
|
1. Controleer de grenswaarden voor de kantelbelasting, maar houd daarbij rekening met het gewicht en de extra reikwijdte. Het kan noodzakelijk zijn om bijvoorbeeld het volume van het werktuig te verkleinen.
2. Plaats de basismachine en het draaikantelstuk op een vlakke, niet-gladde ondergrond. Let erop dat het draaikantelstuk rechtop en in lijn met lepelsteel en drukstuk staat.
3. Indien nodig moet een verankerde ladder worden gebruikt.
|
![]()
Afbeelding8.
|
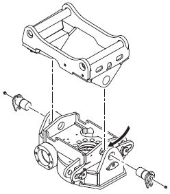
Montage
|
||||
|
1. Monteer de O-ringen indien deze moeten worden gebruikt.
2. Stuur het drukstuk zodanig dat het overeenkomt met de boringen in het bovenstuk van het draaikantelstuk.
3. Indien nodig de breedte met vulringen instellen.
4. Duw de hiervoor bedoelde bakpen vast.
5. Monteer de vergrendeling van de bakpen en controleer of deze goed vastzit.
|
|||||
![]()
Afbeelding9.
|
6. Stuur het drukstuk zodanig dat deze overeenkomt met de daartoe bedoelde boringen in het bovenstuk van het draaikantelstuk.
7. Laat de lepelsteel voorzichtig zakken, er mogen geen haperingen voorkomen.
8. Indien nodig de breedte met vulringen instellen.
9. Breng overvloedig vet aan op de gaten en bussen.
|
||||
![]()
Afbeelding10.
|
|
||||
|
10. Duw de hiervoor bedoelde bakpen vast.
11. Monteer de vergrendeling van de bakpen en controleer of deze goed vastzit.
|
|||||
![]() |
Voor aansluiting van de elektriciteit en de montage van hydraulische slangen, zie de bij het gekozen besturingssysteem behorende montagevoorschriften. Deze kunnen ook worden gedownload op onze website of via contact met engcon.
|
![]() |
1. Sluit de drukleiding (P) en retourleiding (T) aan op de graafmachine.
2. Laat de hydraulische olie ongeveer 3 minuten door het oliefilter van de graafmachine lopen om ervoor te zorgen dat de slangen en leidingen schoon zijn.
|
|
Belangrijk
| ||
|
Onderhoud en reparatie van het elektrische systeem mogen alleen door de vakman worden gedaan.
|
![]() |
Waarschuwing
| |
|
Onderbreek de stroomtoevoer in het elektrische systeem en verwijder onder stroom staande voorwerpen voordat u met het werk begint. Risico op persoonlijk letsel.
|
![]() |
Waarschuwing
| |
|
Let op isolatie van elektronische bedrading en componenten tijdens montage van elektrische uitrusting. Kortsluiting in de bedrading kan brandschade veroorzaken.
|
![]() |
Zie aparte montagevoorschriften.
Deze kunnen ook worden gedownload op onze website of via contact met engcon.
|
![]() |
Plaats de bijgevoegde waarschuwingssticker bij de plaats van de machinist op een duidelijk zichtbare, maar niet storende plaats in de cabine.
|
|||
|
![]() |
Gevaar
| |
|
De grenzen voor kantelbelasting mogen niet worden overschreden. Het gewicht van het product en de extra reikwijdte kunnen de stabiliteit nadelig beïnvloeden. Risico op persoonlijk letsel en schade aan eigendom.
|
![]() |
Zie aanvullende informatie in aparte gebruikershandleiding voor het van toepassing zijnde werktuig.
|
![]() |
Waarschuwing
| |
|
Werk voorzichtig tijdens hantering van lange voorwerpen. Houd rekening met het levende gewicht en het toenemende risicogebied. Risico op persoonlijk letsel en schade aan eigendom.
|
![]() |
Waarschuwing
| |
|
Waarborg altijd een goede grip tijdens het hanteren van voorwerpen. Risico op persoonlijk letsel en schade aan eigendom.
|
![]() |
Waarschuwing
| |
|
Het is niet toegestaan om mensen of personenbakken op te tillen met een draaikantelstuk. Risico op persoonlijk letsel en beschadiging van eigendom.
|
|
Belangrijk
| ||
|
Controleer de maximaal aangegeven capaciteit van de graafmachine. Gebruik van het product met meer dan de maximum aangegeven capaciteit kan schade aan de machine veroorzaken.
|
|
Goedgekeurd
|
Niet goedgekeurd
|
|
![]()
Afbeelding11.
|
![]()
Afbeelding12.
|
![]()
Afbeelding13.
|
![]() |
Waarschuwing
| |
|
De basismachine moet zijn uitgerust met lasthoudkleppen op giek/lepelsteel en een overbelastingswaarschuwing bij het gebruik van een hijspunt op het draaikantelstuk. Risico op persoonlijk letsel en beschadiging van eigendom.
|
![]() |
Waarschuwing
| |
|
Gebruik het hiertoe bedoelde hijsstuk voor het optillen van voorwerpen. Risico op persoonlijk letsel en schade aan eigendom.
|
![]() |
Waarschuwing
| |
|
Gebruik de grijper niet voor werk met zijwaartse krachten, bijvoorbeeld het zetten van palen. Risico op persoonlijk letsel en schade aan eigendom.
|
![]() |
Waarschuwing
| |
|
Bij heffen moet de lading aan beide grijperarmen worden bevestigd. Zorg ervoor dat de lading niet kan verschuiven en slechts één grijperarm belast. Wanneer alle kracht op slechts één arm wordt uitgeoefend, bestaat het risico dat de grijper opengaat. Risico op persoonlijk letsel en beschadiging van eigendommen.
|

![]() |
Waarschuwing
| |
|
Gebruik de grijpen niet voor het hanteren van staande bomen. Risico op persoonlijk letsel en beschadiging van eigendom.
|
|
Belangrijk
| ||
|
Vermijdt langdurig ronddraaien aangezien dit het warmlopen van de wormoverbrenging veroorzaakt. Risico voor persoonlijk letsel.
|
![]() |
Waarschuwing
| |
|
De cilinders op de graafarm van de graafmachine moeten zijn uitgerust met houdkleppen om te voorkomen dat de last in het geval van een slangbreuk naar beneden valt. Risico op persoonlijk letsel en beschadiging van eigendom.
|
![]() |
Waarschuwing
| |
|
Bij gebruik van een vorkhouder in combinatie met een draaikantelstuk moet de hoogst mogelijke voorzichtigheid in acht worden genomen. Tijdens snel roteren of kantelen kan de lading naar beneden vallen.
|
![]() |
Zie aparte montagevoorschriften. Deze kunnen ook worden gedownload op onze website of via contact met engcon.
|
![]() |
Zie aparte montagevoorschriften. Deze kunnen ook worden gedownload op onze website of via contact met engcon.
|
![]() |
Zie instructies voor ingebouwde/gemonteerde externe besturingssystemen en contacten/support geschiedt met respectievelijke.
|
![]() |
Zie aparte montagevoorschriften. Deze kunnen ook worden gedownload op onze website of via contact met engcon.
|
![]() |
Zie aparte montagevoorschriften. Deze kunnen ook worden gedownload op onze website of via contact met engcon.
|
![]() |
Zie aparte montagevoorschriften. Deze kunnen ook worden gedownload op onze website of via contact met engcon.
|
![]() |
Zie aparte gebruiksaanwijzing voor werken van werktuigvergrendeling.
|
|
- SQ - Aparte hydraulisch werkende vergrendeling. Gebruiksaanwijzing verkrijgbaar bij leverancier van systeem.
- QSC - Apart engcon vergrendelsysteem. Deze gebruiksaanwijzing kan worden gedownload op onze website of via contact met engcon.
|
|
![]() |
Voor draaikantelstukken met besturingssysteem 5 SQ, zie instructieboek machine.
|
|
Belangrijk
| ||
|
Nadat een ander werktuig is aangekoppeld, moet het draaikantelstuk onder druk worden gezet om de vergrendelcilinder te activeren
|
|
Vergrendeling uitrustingsstuk
|
Bediening vergrendelspie
|
||||||||||
|
|
![]() |
Waarschuwing
| |
|
De grijpercasette is niet bedoeld om met een ketting, riem of dergelijke te worden opgetild. Risico op persoonlijk letsel en materiële schade. Gebruik de daarvoor passende hijsinrichting bij het hijsen.
|

5.6.1. Werktuig aankoppelen, hydraulische vergrendeling | ||||
|
1. Activeer de functie van de werktuigvergrendeling.
2. Activeer het hydraulische systeem om de vergrendelspieën te bedienen.
|
![]() |
|||
|
|
||||
|
HS/SW met sensor: Het akoestische en lichtsignaal wordt geactiveerd wanneer de vergrendelcilinder in de open stand staat.
|
||||
|
3. Controleer of de indicatiepen uit staat. De plaats van de indicatiepen kan per model draaikantelstuk verschillen.
|
![]() |
|||
|
|
||||
|
ECPUP: Controleer of de rode haak in de open stand staat.
|
||||
|
QSM40: Snelwissel QSM40 heeft geen indicatiepen.
|
||||
|
4. Beweeg de werktuigbevestiging richting werktuig.
|
![]() |
|||
|
|
||||
|
EC-Oil: Zorg dat het uitrustingsstuk zo geplaatst is dat de as met hetEC-Oil-blok zo dicht mogelijk bij de basismachine is geplaatst. Indien het uitrustingsstuk correct staat moet het blok te zien zijn aan de linkerkant van de as, gezien vanuit de cabine.
|
||||
|
Palletvorken: Ter voorkoming van overbelasting bij het aankoppelen moeten de vergrendelpennen van de snelwissel van de vorkpunten af worden gekeerd.
|
|
|||
|
5. Koppel het werktuig aan door de snelwissel in de richting van de ene
as van het werktuig te bewegen.
|
![]() |
|||
|
|
||||
|
Q-Safe: Het akoestisch en lichtsignaal wordt geactiveerd.
|
||||
|
6. Hef het draaikantelstuk iets omhoog, zodat het werktuig in de werktuigbevestiging schuift.
|
![]() |
|||
|
|
||||
|
||||
|
7. Deactiveer de functie van de werktuigvergrendeling.
Het werktuig is niet helemaal aangekoppeld voordat het hydraulische systeem is geactiveerd en de indicatie "open positie" niet langer zichtbaar is.
8. Activeer het hydraulische systeem om de vergrendelspieën te bedienen.
|
![]() |
|||
|
|
||||
|
||||
|
9. Controleer of de vergrendelfunctie van de snelwissel functioneert en of de indicatorpen niet langer uit de snelwissel steekt.
|
![]() |
|||
|
|
||||
|
Q-Safe: Het akoestische en lichtsignaal wordt gedeactiveerd wanneer de snelwissel correct is aangesloten.
|
||||
|
HS/SW met sensor: Het akoestische en lichtsignaal wordt gedeactiveerd wanneer de vergrendelcilinder in gesloten stand staat.
|
||||
|
ECPUP: Controleer of de rode haak in de gesloten stand staat.
|
||||
|
QSM40: Snelwissel QSM40 heeft geen indicatiepen.
|
||||
|
|
||||
|
Voor andere snelwissels dient u te controleren of de vergrendelfunctie functioneert volgens de specificatie voor de desbetreffende snelwissel.
|
5.6.2. Werktuig loskoppelen, hydraulische vergrendeling | ||||
|
1. Plaats het werktuig op de grond, met de vergrendelspieën weg van de cabine.
|
![]() |
|||
|
2. Deactiveer de functie van de werktuigvergrendeling.
|
![]() |
|||
|
3. Activeer de hydraulische werking en de vergrendelspieën.
|
![]() |
|||
|
4. De vergrendelingscilinders worden geactiveerd en de open positie wordt bereikt wanneer de indicatorpen zichtbaar is.
|
![]() |
|||
|
|
||||
|
Q-Safe: Het akoestisch en lichtsignaal wordt geactiveerd.
|
||||
|
HS/SW met sensor: Het akoestische en lichtsignaal wordt geactiveerd wanneer de vergrendelcilinder in de open stand staat.
|
||||
|
ECPUP: Controleer of de rode haak in de open stand staat.
|
||||
|
QSM40: Snelwissel QSM40 heeft geen indicatiepen.
|
||||
|
5. De vergrendelspieën staan nu in de open stand en het werktuig zit los. Til de machinebevestiging voorzichtig weg van het werktuig.
|
![]() |
|||
|
|
||||
|
5.6.3. Werktuig aankoppelen, mechanische vergrendeling |
![]() |
|
1. Open de werktuigvergrendeling met een geschikt gereedschap.
|
|
|
|
|
|
Op modellen met schroef moet deze linksom worden gedraaid totdat de spieën naar binnen zijn gegaan en de indicatiepen* in de buitenste stand staat.
|
|
|
Gebruik op modellen met hendel een verlengstuk en beweeg de hendel naar zijn eindpositie. De indicatiepen* moet dan in zijn buitenste stand staan en de vergrendelingsbeugel moet de vergrendelspieën open houden.
|
![]() |
|
2. Beweeg de werktuigbevestiging richting werktuig.
|
![]() |
|
Om overbelasting van de snelwissel tijdens gebruik te voorkomen, moeten bij aankoppelen de vergrendelpennen van de snelwissel weg van de vorkpunten af gedraaid worden.
|
|
|
3. Koppel de werktuigbevestiging aan het werktuig.
|
![]() |
|
4. Hef het draaikantelstuk iets omhoog, zodat het werktuig in de werktuigbevestiging schuift.
|
![]() |
|
5. Sluit de machinebevestiging met een daarvoor geschikt gereedschap.
|
![]() |
|
|
|
|
Op modellen met schroef moet deze rechtsom worden gedraaid totdat de spieën naar buiten zijn gegaan en de indicatiepen* in de binnenste stand staat.
|
|
|
Op modellen met hendel sluit de vergrendeling automatisch als de as van het tussenstuk de vergrendelingsbeugel naar boven duwt.
|
![]() |
|
6. Controleer of de vergrendelfunctie van de snelwissel pakt.
Bij een snelwissel van engcon moet de blauwe indicatiepen niet meer uit de snelwissel steken. De plaats van de indicatiepen* kan per model draaikantelstuk verschillen. |
![]() |
|
|
|
|
*Snelwissel QSM40 heeft geen indicatiepen.
|
5.6.4. Werktuig loskoppelen, mechanische vergrendeling |
![]() |
|
1. Plaats het werktuig op de grond, met de vergrendelspieën weg van de cabine.
|
|
|
2. Open de werktuigvergrendeling met een geschikt gereedschap.
|
![]() |
|
|
|
|
Op modellen met schroef moet deze linksom worden gedraaid totdat de spieën naar binnen zijn gegaan en de indicatiepen* in de buitenste stand staat.
|
|
|
Gebruik op modellen met hendel een verlengstuk en beweeg de hendel naar zijn eindpositie. De indicatiepen* moet dan in zijn buitenste stand staan en de vergrendelingsbeugel moet de vergrendelspieën open houden.
|
![]() |
|
In deze stand zit het werktuig los!
|
|
|
| |
|
3. De vergrendelspieën staan nu in de open stand en het werktuig zit los. Hef het draaikantelstuk voorzichtig weg van het werktuig.
|
![]() |
|
|
|
|
*Snelwissel QSM40 heeft geen indicatiepen.
|
![]() |
Gevaar
| |
|
Controleer de bevestigingen regelmatig en let vooral op scheurvorming. Risico op persoonlijk letsel en schade aan eigendom.
|
![]() |
Waarschuwing
| |
|
Let vooral op de beweegbare details. Onoplettendheid kan beknellingsschade veroorzaken. Risico op persoonlijk letsel.
|
|
Werktuigbevestiging S30-S80
|
Werktuigbevestiging S1-S3
|
||||||||||||||||||||||||
![]()
Afbeelding15.
|
![]()
Afbeelding16.
|
||||||||||||||||||||||||
Tabel 4.
|
Tabel 5.
|
|
Werktuigbevestiging RF40-90 (PUP)
|
Werktuigbevestiging ECPUP
|
||||||||||||||||||
![]()
Afbeelding17.
|
![]()
Afbeelding18.
|
||||||||||||||||||
Tabel 6.
|
Tabel 7.
|
|
Werktuigbevestiging CW10-45
|
Werktuigbevestiging HS
|
||||||||||||
![]()
Afbeelding19.
|
![]()
Afbeelding20.
|
||||||||||||
Tabel 8.
|
Tabel 9.
|
![]() |
Gevaar
| |
|
Controleer de bevestigingen regelmatig en let vooral op scheurvorming. Risico op persoonlijk letsel en schade aan eigendom.
|
![]() |
Waarschuwing
| |
|
Waarborg dat alle service- en onderhoudswerkzaamheden worden verricht volgens de aanbevelingen van de fabrikant. Gebrekkig onderhoud kan defecten aan de basismachine en toebehorende uitrusting veroorzaken.
|
![]() |
Waarschuwing
| |
|
Bij het vervangen van slangen mogen er alleen slangen met een perskoppeling worden gebruikt. Gebruik geen schroefkoppelingen. Risico op persoonlijk letsel en beschadiging van eigendom.
|
|
Belangrijk
| ||
|
Denk aan het gevaar voor mens en milieu wat betreft hydraulische olie en smeervet. Lees de veiligheidsvoorschriften voor de door u gebruikte hydraulische olie en smeervet. Risico op persoonlijk letsel en schade aan het milieu.
|
|
Belangrijk
| ||
|
Maak uw product altijd zorgvuldig schoon. Gebrekkige reiniging kan schade aan de uitrusting veroorzaken.
|
![]() |
Waarschuwing
| |
|
Vermijd contact met hete hydraulische olie. Denk aan het risico op brandwonden.
|
![]() |
Waarschuwing
| |
|
Gebruik nooit uw handen om lekkage in het hydraulische systeem op te sporen. Gebruik hiervoor bedoelde veiligheidsuitrusting. Hydraulische olie die onder druk staat kan de huid penetreren. Risico op persoonlijk letsel.
|
![]() |
Waarschuwing
| |
|
Let vooral op de beweegbare details. Onoplettendheid kan beknellingsschade veroorzaken. Risico op persoonlijk letsel.
|
![]() |
Waarschuwing
| |
|
Het hydraulische systeem moet drukloos worden gemaakt voordat met werkzaamheden in het systeem een aanvang wordt genomen. Risico op persoonlijk letsel en schade aan eigendom.
|
![]() |
Waarschuwing
| |
|
Waarborg dat de basismachine is uitgezet en dat het contact aan staat voordat de schakelaar van de werktuigvergrendeling wordt gecontroleerd. Risico op persoonlijk letsel en schade aan eigendom.
|


![]() |
Waarschuwing
| |
|
Controleer altijd of de vergrendelspieën helemaal aanliggen volgens de geldende voorschriften voor de van toepassing zijnde werktuigbevestiging. Werktuigen die op het draaikantelstuk worden aangekoppeld, mogen alleen worden gebruikt wanneer ze op correcte wijze zijn vergrendeld. Risico op persoonlijk letsel en schade aan eigendom.
|
![]() |
Waarschuwing
| |
|
Lassen is niet toegestaan. Dit kan de veiligheid negatief beïnvloeden. Risico op persoonlijk letsel en schade aan eigendom. Voor laswerk, raadpleeg uw dealer of engcon Nordic AB.
|
![]() |
Waarschuwing
| |
|
Vervang beschadigde/onleesbare stickers/plaatjes voordat de machine in gebruik wordt genomen. Risico op persoonlijk letsel en schade aan eigendom.
|
|
Reiniging
|
![]() |
|
- Oliekoppelingen, elektrische koppelingen, smeerkoppelingen en vuilbeschermingen moeten vóór en na gebruik worden schoongemaakt, om lekkage van olie of vet te voorkomen en de werking van EC-Oil te garanderen.
- Indien zich ondanks reiniging nog steeds olie- of vetlekkage voordoet, raden wij aan om de vlakafdichting te vervangen.
- Reinig de elektrische aansluitingen dagelijks en spuit ze in met een waterafstotende spray.
|
|
|
Afbeelding21. Bildtext
|
|
Vlakafdichting vervangen
|
![]()
Afbeelding22.
|
|||||||||||||||
|
Van toepassing op hydraulische koppelingen op de snelwissel.
|
||||||||||||||||
|
1. Verwijder de huidige vlakafdichting met behulp van een scherp gereedschap.
2. Monteer de nieuwe vlakafdichting voorzichtig met behulp van uw vingers.
|
||||||||||||||||
|
||||||||||||||||
|
![]()
Afbeelding23.
|
|||||||||||||||
|
EC02
|
EC05B
|
![]() |
![]() |
|
EC10B
|
EC15B
|
![]() |
![]() |
|
EC20B
|
EC30
|
![]() |
![]() |
|
Voorbeeld S80
|
Voorbeeld S70
|
![]()
Afbeelding24.
|
![]()
Afbeelding25.
|
|
Voorbeeld HS
|
Voorbeeld ECPUP
|
![]()
Afbeelding26.
|
![]()
Afbeelding27.
|


|
1. Wat olie aanbrengen op de bussen voor de kantelassen.
2. Til het bovenstuk op en breng de kantelas aan die van de basismachine is gekeerd.
3. Plaats de kantelas, die naar de machine is gericht, en schuif deze zover naar binnen dat deze gelijk ligt met de inwendige rand in de boring in het bovenstuk.
|
![]() |
|||
|
||||
|
4. Pas het bovendeel in met vulringen door deze aan de binnenzijde van de achterkant te plaatsen.
|
||||
|
Er mag zich geen merkbare speling voordoen.
|
||||
|
5. Monteer de borgbout voor de kantelassen.
|
|
1. Wat olie aanbrengen op de bussen voor de kantelassen.
2. Til het bovenstuk op en breng de kantelas aan die van de basismachine is gekeerd.
3. Plaats de kantelas, die naar de machine is gericht, en schuif deze zover naar binnen dat deze gelijk ligt met de inwendige rand in de boring in het bovenstuk.
|
![]() |
|||
|
||||
|
4. Pas het bovendeel in met vulringen door deze aan de binnenzijde van de achterkant te plaatsen.
|
||||
|
Er mag zich geen merkbare speling voordoen.
|
||||
|
5. Monteer de borgbout voor de kantelassen.
|
|
1. Draai de bouten van de kantelasdeksel los
2. Draai de bouten achter het deksel vast volgens 6.7. Aanhaalmoment
3. Plaats het deksel van de kantelas weer terug
|
|
![]()
Afbeelding30.
|
|
Af fabriek heeft de rotatoreenheid een bepaalde mate van speling. Deze speling wordt na verloop van tijd steeds meer merkbaar al naar gelang de frictie door slijtage afneemt.
|
![]() ![]()
Afbeelding31. Niet zichtbaar fotobijschrift
|
|
Slijtage geschiedt sneller bij kantelbelasting nabij grenswaarden (zie technische specificaties) en/of door slechte smering. In geval van overmatige grenswaarden - raadpleeg uw dealer of engcon Nordic AB.
|
|
|
Ter plaatse van het contactvlak tussen wormwiel/wormschroef kan zich rotatiespeling voordoen. Kantelspeling ontstaat wanneer het raakvlak tussen wormwiel en slijtvlak aan hoge belastingen nabij de grenswaarden is blootgesteld en/of door slechte smering.
|
|
|
en Tabel 10. toont meetpunten en toegestane speling voordat er maatregelen moeten worden genomen.
|
|
Type
|
Rotatiespeling A (max.) [mm]
|
Kantelspeling B (max.) [mm]
|
|---|---|---|
|
EC02
|
0,4
|
0,3
|
|
EC05B
|
0,4
|
0,3
|
|
EC10B
|
0,6
|
0,4
|
|
EC15B
|
0,6
|
0,4
|
|
EC20B
|
0,8
|
0,4
|
|
EC30
|
0,8
|
0,4
|
|
Verbinding
|
Afmeting
|
Kwaliteit
|
Aantal
|
Koppel
|
|---|---|---|---|---|
|
Schroefdeksel
|
M10
|
12.9
|
4
|
79 Nm
|
|
Werktuigbevestiging
|
M12
|
12.9
|
10
|
136 Nm
|
|
Zadelbevestiging
|
M10
|
12.9
|
4
|
79 Nm
|
|
Hydraulische motor
|
M8
|
12.9
|
2
|
40 Nm
|
|
Verbinding
|
Afmeting
|
Kwaliteit
|
Aantal
|
Koppel
|
|---|---|---|---|---|
|
Schroefdeksel
|
M10
|
12.9
|
6
|
79 Nm
|
|
Werktuigbevestiging
|
M12
|
12.9
|
12
|
136 Nm
|
|
Centrumring
|
M12
|
12.9
|
12
|
136 Nm
|
|
Zadelbevestiging
|
M12
|
12.9
|
4
|
136 Nm
|
|
Hydraulische motor
|
M12
|
12.9
|
2
|
136 Nm
|
|
Verbinding
|
Afmeting
|
Kwaliteit
|
Aantal
|
Koppel
|
|---|---|---|---|---|
|
Schroefdeksel
|
M16
|
12.9
|
6
|
333 Nm
|
|
Werktuigbevestiging
|
M14
|
12.9
|
12
|
217 Nm
|
|
Centrumring
|
M16
|
12.9
|
12
|
333 NM/390 Nm*
|
|
Zadelbevestiging
|
M16
|
12.9
|
4
|
333 Nm
|
|
Hydraulische motor
|
M12
|
12.9
|
2
|
136 Nm
|
|
Verbinding
|
Afmeting
|
Kwaliteit
|
Aantal
|
Koppel
|
|---|---|---|---|---|
|
Schroefdeksel
|
M16
|
12.9
|
6
|
333 Nm
|
|
Werktuigbevestiging
|
M16
|
12.9
|
12
|
333 Nm
|
|
Centrumring
|
M16
|
12.9
|
16
|
333 NM/390 Nm*
|
|
Zadelbevestiging
|
M16
|
12.9
|
8
|
333 Nm
|
|
Hydraulische motor
|
M12
|
12.9
|
2
|
136 Nm
|
|
Verbinding
|
Afmeting
|
Kwaliteit
|
Aantal
|
Koppel
|
|---|---|---|---|---|
|
Schroefdeksel
|
M16
|
12.9
|
6
|
333 Nm
|
|
Werktuigbevestiging
|
M20
|
12.9
|
12
|
649 Nm
|
|
Centrumring
|
M16
|
12.9
|
20
|
333 NM/390 Nm*
|
|
Zadelbevestiging
|
M16
|
12.9
|
8
|
333 Nm
|
|
Hydraulische motor
|
M12
|
12.9
|
2
|
136 Nm
|
|
Verbinding
|
Afmeting
|
Kwaliteit
|
Aantal
|
Koppel
|
|---|---|---|---|---|
|
Schroefdeksel
|
M20
|
12.9
|
6
|
649 Nm
|
|
Werktuigbevestiging
|
M20
|
12.9
|
12
|
649 Nm
|
|
Centrumring
|
M20
|
12.9
|
18
|
649 Nm
|
|
Zadelbevestiging
|
M16
|
12.9
|
8
|
333 Nm
|
|
Hydraulische motor
|
M12
|
12.9
|
2
|
136 Nm
|
|
Verbinding
|
Afmeting
|
Aantal
|
Koppel
|
|---|---|---|---|
|
Hydraulische koppeling ECO
|
ECO40-80
|
2
|
60 Nm
|
![]() |
![]() |
|
Positie
|
Gedrag
|
Indicatie
|
Commentaar
|
|---|---|---|---|
|
1
|
1 keer knipperen
*_*_*_ |
Voedingsspanning OK
|
Van toepassing op DC2 zonder QSC
|
|
2 keer knipperen
**_**_**_ |
Voedingsspanning OK
|
Van toepassing op QSC
|
|
|
Vast licht
|
Voedingsspanning OK
|
Van toepassing op SS0-SS9 zonder QSC
|
|
|
2
|
1 keer knipperen
*_*_*_ |
CAN time out
|
Van toepassing op QSC
|
|
2 keer knipperen
**_**_**_ |
Kortsluiting toevoer naar sensor in EC
|
Van toepassing op SS0-SS9 zonder QSC en tijdens het opstarten van QSC
|
|
|
3 keer knipperen
***_***_***_ |
Kortsluiting toevoer naar sensor in RF
|
Van toepassing op SS0-SS9 zonder QSC en tijdens het opstarten van QSC
|
|
|
3 keer knipperen
***_***_***_ |
Kortsluiting toevoer naar sensor in EC
|
Van toepassing op DC2
|
|
|
Inactief
|
Geen storing
| ||
|
3
|
Vast licht
|
Aangesloten uitrustingsstuk
|
Sensor op haak voor snelwissels op de machine
|
|
4
|
Vast licht
|
Aangesloten uitrustingsstuk
|
Sensor op uitstoter voor snelwissel op de machine
|
|
5
|
1 keer knipperen
*_*_*_ |
Losgekoppeld draaikantelstuk
|
Van toepassing op DC2
|
|
Vast licht
|
Aangesloten uitrustingsstuk
|
Sensor op haak voor snelwissels onder het draaikantelstuk
|
|
|
6
|
1 keer knipperen
*_*_*_ |
Losgekoppeld draaikantelstuk
|
Van toepassing op DC2
|
|
Vast licht
|
Aangesloten uitrustingsstuk
|
Sensor op uitstoter voor snelwissels onder draaikantelstuk
|
|
|
7
|
Knippert wit in combinatie met pulserende sirene (Normaal tijdens koppelingsprocedure)
|
Onjuist aangesloten werktuig
|
Controleer de bevestiging
|
![]() |
![]() |
|
Positie
|
Gedrag
|
Indicatie
|
Commentaar
|
|---|---|---|---|
|
1
|
Knipperend licht
|
Voedingsspanning OK
|
DC2
Overige besturingssystemen met QSC |
|
Vast licht
|
Voedingsspanning OK
|
Overige besturingssystemen zonder QSC
|
|
|
2
|
1 keer knipperen
*_*_*_ |
Kortsluiting toevoer naar sensor in RF
|
Van toepassing bij het opstarten van het systeem
|
|
2 keer knipperen
**_**_**_ |
Kortsluiting toevoer naar sensor in EC
|
Van toepassing bij het opstarten van het systeem
|
|
|
Inactief
|
Geen storing
| ||
|
3
|
Vast licht
|
Niet toepasbaar
|
|
|
4
|
Vast licht
|
Niet toepasbaar
|
|
|
5
|
Vast licht
|
Snelwissel in gesloten stand
|
De snelwissel onder het draaikantelstuk
|
|
6
|
Vast licht
|
Niet toepasbaar
|
|
|
7
|
Knipperend wit en pulserende sirene
|
Open vergrendelcilinder
|

|
Positie
|
Teken
|
Indicatie
|
Commentaar
|
|---|---|---|---|
|
1
|
Uit
|
Geen spanningstoevoer
| |
|
1
|
Vast licht
|
Geen communicatie in X1
| |
|
1
|
Knippert
|
CAN-communicatie met eenheid aangesloten in X1
| |
|
3
|
Uit
|
Geen spanningstoevoer
| |
|
3
|
Vast licht
|
Geen communicatie in X2
| |
|
3
|
Knippert
|
CAN-communicatie met eenheid aangesloten in X2
| |
|
2
|
Uit
|
Geen storing of geen voedingsspanning
| |
|
2
|
Knippert 1 keer
|
Geen communicatie met rotatiesensor
|
*__*__*__
|
|
2
|
Knippert 2 keer
|
Kortsluiting voeding X2
|
**__**__**__
|
![]() |
Waarschuwing
| |
|
Vervang beschadigde/onleesbare stickers/plaatjes voordat de machine in gebruik wordt genomen. Risico op persoonlijk letsel en schade aan eigendom.
|
![]() |
Voor stickers, zie aparte bij levering inbegrepen gebruiksaanwijzing.
|
|
Belangrijk
| ||
|
Niet voor alle machines.
|
![]() |
Niet geactiveerd |
![]() |
Geactiveerd |
|
Linker hendel
|
Rechter hendel
|
||||||||||||||||||||||||||||||||
|
|



![]() |
Belangrijk om het gewicht van het draaikantelstuk af te trekken bij de hefberekening.
|
![]() |
Waarschuwing voor draaiende werktuig.
|
![]() |
Waarschuwing voor kantelbaar werktuig.
|
![]() |
Werk voorzichtig tijdens hantering van lange voorwerpen. Houd rekening met het levende gewicht en het toenemende risicogebied.
|
![]() |
Sta of zit nooit onder een opgeheven werktuig!
|
![]() |
Houd afstand voor draaiende, kantelende en zijdelingse verplaatsing van werktuigen! Risicogebied 3 meter.
|
![]() |
Beknellingsgevaar bij beweegbare onderdelen.
|
![]() |
De voor de machine goedgekeurde kantelbelasting mag nooit worden overschreden.
|
![]() |
Sta of zit nooit onder een hangende lading.
|
![]() |
Lees de gebruikershandleiding.
|

|
Beschrijving
|
EC02
|
EC05B
|
EC10B
|
EC15B
|
EC20B
|
EC30
|
|
|---|---|---|---|---|---|---|---|
|
Max. machinegrootte
|
kg
|
3.500
|
7.000
|
14.000
|
18.000
|
24.000
|
32.000
|
|
Breedte (A)
|
mm*
|
180
|
260
|
320
|
320
|
450
|
500
|
|
Breedte (B)
|
mm*
|
155
|
215
|
245
|
285
|
300
|
390
|
|
Breedte (C)
|
mm*
|
160
|
160
|
290
|
307
|
310
|
390
|
|
Totale lengte (D)
|
mm*
|
435
|
485
|
540
|
698
|
890
|
970
|
|
Opbouwhoogte (E)
|
mm*
|
vanaf 245
|
vanaf 300
|
vanaf 390
|
vanaf 420
|
vanaf 440
|
vanaf 520
|
|
Gewicht
|
kg*
|
77
|
162
|
297
|
387
|
620
|
812
|
|
Aanbev. hydraulisch debiet: DC2/ss10
|
l/min
|
25
|
40
|
60
|
80
|
120
|
120
|
|
Aanbev. hydraulisch debiet ss9 tilt/rotatie
|
l/min
|
7/20
|
15/30
|
30/40
|
35/50
|
65/70
|
86/80
|
|
Max. hydraulische druk
|
MPa
|
22
|
22
|
22
|
22
|
22
|
22
|
|
Kantelhoek
|
°
|
2x40
|
2x40
|
2x40
|
2x40
|
2x40
|
2x40
|
|
Rotatie
|
∞
|
∞
|
∞
|
∞
|
∞
|
∞
|
|
Beschrijving
|
EC02
|
EC05B
|
EC10B
|
EC15B
|
EC20B
|
EC30
|
|
|---|---|---|---|---|---|---|---|
|
Max. breekkracht
|
kNm
|
20
|
45
|
90
|
135
|
180
|
320
|
|
Max. bakbreedte
|
mm
|
900
|
1.200
|
1.400
|
1.600
|
1.700
|
2.200
|
|
Kanteltijd bij hydraulische doorstroom
|
s / l/min
|
3/7
|
3/15
|
3/30
|
3/35
|
3/65
|
3.5/85
|
|
Draaitijd voor één omwenteling bij hydr. doorstroom
|
s / l/min
|
7/20
|
6.5/30
|
7/40
|
7/50
|
7/70
|
7/80
|
|
Aanbev. druk openen/sluiten SQ S30-S3, HS03/08
|
MPa
|
21 / 3-6
|
21 / 3-6
|
21 / 3-6
|
21 / 3-6
|
21 / 3-6
|
21 / 3-6
|
|
Aanbev. druk openen/sluiten SQ ECpup
|
MPa
|
Nvt
|
21 / 10-21
|
21 / 10-21
|
21 / 10-21
|
21 / 10-21
|
21 / 10-21
|
|
Aanbev. druk openen/sluiten SQ Q-Safe
|
MPa
|
Nvt
|
Nvt
|
Nvt
|
Nvt
|
Nvt
|
21
|
|
Max. aanbev. druk in retourleiding
|
MPa
|
2,5
|
2,5
|
2,5
|
2,5
|
2,5
|
2,5
|
|
Max. hydraulisch debiet EXTRA
|
l/min
|
18
|
35
|
55*
|
55*
|
60*
|
60*
|
|
Swivelkanaal extra functie, aantal aansluitingen
|
2
|
2
|
2 (4)
|
2 (4)
|
2 (4)
|
2 (4)
|
|
|
Swivelkanaal vergrendelfunctie, aantal aansluitingen
|
2
|
2
|
2
|
2
|
2
|
2
|
![]()
Afbeelding36.
|
![]()
Afbeelding37.
Maximale zwaartepuntverschuiving 150mm
|
|
Beschrijving
|
GR05
|
GR10
|
GR20B
|
GR30
|
GR20RR/R2
|
|
|---|---|---|---|---|---|---|
|
Grootste grijpbreedte (A):
|
mm
|
350
|
610
|
820 - 950
|
1.080
|
820
|
|
Breedte (B)
|
mm
|
200
|
270
|
350
|
440
|
380
|
|
Lengte (C)
|
mm
|
585
|
760
|
910
|
980
|
*
|
|
Klemkracht (tand - tand) bij 21 bar
|
kg
|
1.654
|
1.497
|
2.234
|
1.956
|
1.750
|
|
Max. belasting:
|
kg
|
1.000
|
1.500
|
2.000
|
2.200
|
3.000
|
|
Gewicht
|
kg*
|
50
|
70
|
85
|
148
|
140
|
|
Max. hydraulische druk
|
MPa
|
22
|
22
|
22
|
22
|
22
|
![]() |
Zie aparte montagevoorschriften voor losneembare GRD. Deze kunnen ook worden gedownload op onze website of via contact met engcon.
|
|
Beschrijving
|
EC02
|
|
|---|---|---|
|
Koppel
|
Nm*
|
4.700 (rotatie rechts)
|
|
Koppel
|
Nm*
|
3.500 (rotatie links)
|
|
Woord
|
Beschrijving
|
|---|---|
|
Basismachine
|
De machine die de van toepassing zijnde uitrusting draagt. Graafmachine of graafladers.
|
|
EC-Oil
|
Automatisch oliekoppelingssysteem voor hydraulisch wisselen van werktuig direct vanuit de cabine. Zie punt 3.5. EC-Oil.
|
|
EC-Oil blok H (Hitch)
|
Zit in machine- of werktuigbevestiging.
|
|
EC-Oil blok T (Top)
|
Zit in bovenstuk van hydraulische werktuigen en/of het draaikantelstuk.
|
|
ECxxPS (bijv. EC30PS)
|
Draaikantelstuk wanneer dit is uitgerust met ePS.
|
|
ECxxR (bijv. EC30R)
|
Rotator, geen kantelfunctie.
|
|
ECxxU (bijv. EC30U)
|
Draaikantelstuk zonder kleppenblok en svivel.
|
|
ECxxW (bijv. EC30W)
|
Draaikantelstuk met extra breed kantelbovenstuk.
|
|
Drukstuk
|
Verbinding tussen opbreekcilinder en machinebevestiging, alternatief direct gemonteerd draaikantelstuk.
|
|
Bewegend gewicht
|
Zwengelende/heen en weer bewegende lading
|
|
Machinebevestiging
|
Werktuigbevestiging die direct op de lepelsteel van de graafmachine wordt gemonteerd.
|
|
Werktuigbevestiging
|
Het gedeelte van het draaikantelstuk dat op de bak of een ander werktuig aansluit.
|
|
Lepelsteel
|
"Arm" vooraan op de graafmachine.
|
|
Kantelbelasting
|
Geeft het maximale gewicht aan dat de graafmachine kan optillen zonder voorwaarts te kantelen.
|
|
Woord
|
Beschrijving
|
|---|---|
|
C2C
|
Werkt als een aansluitpunt tussen twee verschillende systemen. Zie punt 3.6. ePS/C2C.
|
|
ePS
|
Rotatiesensor met bedrading die op een graafsysteem wordt aangesloten. Zie punt 3.6. ePS/C2C.
|
|
IQ
|
Geïntegreerde hydraulisch gestuurde vergrendeling.
|
|
QLM
|
Licht- en geluidssignaal dat waarschuwt wanneer de bak of een ander werktuig niet op correcte wijze is aangekoppeld.
|
|
QSC
|
Gestandaardiseerd vergrendelsysteem van engcon waarmee alle soorten machine- en werktuigbevestigingen kunnen worden bediend.
|
|
SQ
|
Aparte hydraulische gestuurde vergrendeling.
|
|
Pos.
|
Benaming
|
![]() |
|
1
|
Lasthoudklep
|
|
|
2
|
EC-Oil blok T (optie)
|
|
|
3
|
Kantelcilinder
|
|
|
4
|
Zadelbevestiging
|
|
|
5
|
Bus zadelbevestiging
|
|
|
6
|
Geleidelager
|
|
|
7
|
QS/Q-safe Sleepring (optie)
|
|
|
8
|
1-puntsmering
|
|
|
9
|
Kantelas
|
|
|
10
|
Vulringen-kit kantelas
|
|
|
11
|
Cilinderas
|
|
|
12
|
Klemhelft
|
|
|
13
|
Hydraulische motor
|
|
|
14
|
QS/Q-safe Sensor (optie)
|
|
|
15
|
EC-Oil blok H (optie)
|
|
|
16
|
Vergrendelcilinder
|
|
|
17
|
Geïntegreerd grijperhulpstuk
|
|
|
18
|
Werktuigbevestiging
|
|
|
19
|
Lagerring
|
|
|
20
|
Wormwiel
|
|
|
21
|
Axiale ring
|
|
|
22
|
Rotatiesensor ePS (optie)
|
|
|
23
|
Schroefdeksel
|
|
|
24
|
Set vulringenSchroefdeksel
|
|
|
25
|
Wormschroef
|
|
|
26
|
Huis
|
|
|
27
|
Kleppenblok en swivel
|
|
|
28
|
Bus kantelas
|
|
|
29
|
Kantelbovenstuk
|
|
Datum
|
250 h
|
500 h
|
Opmerking/maatregel
|
Stempel/Paraaf
|
|
![]() |
|||||
|
Datum
|
250 h
|
500 h
|
Opmerking/maatregel
|
Stempel/Paraaf
|
![]() |
||||
|
Datum
|
250 h
|
500 h
|
Opmerking/maatregel
|
Stempel/Paraaf
|
![]() |
||||
|
engcon Australia Pty Ltd
+61 2 7252 5279 australia@engcon.com |
engcon Ireland Ltd
+353 15 686 742 ireland@engcon.com |
|
engcon Austria GmbH
+46 676 3786239 info-at@engcon.com |
engcon Korea Ltd
+82 70 4472 9978 engcon_kor@engcon.com |
|
engcon Belgium BVBA
+32 15 79 73 10 belgium@engcon.com |
engcon Netherlands
+31 85 82 23 550 netherlands@engcon.com |
|
engcon Canada Inc.
+1 438-226-1716 canada@engcon.com |
engcon North America Inc.
+1 203 691 5920 northamerica@engcon.com |
|
engcon Denmark A/S
+45 70 20 13 50 info@engcon.dk |
engcon Norway AS
+47 22 75 44 44 norge@engcon.com |
|
OY engcon Finland AB
+358 6322 815 finland@engcon.com |
engcon Poland Sp. z o.o.
+48 61 894 00 47 info@engcon.pl |
|
engcon France SAS
+33 1 60 79 49 70 france@engcon.com |
engcon Sweden AB
+46 670 65 04 00 sweden@engcon.com |
|
engcon Germany GmbH
+49 9342 934 85 0 germany@engcon.com |
engcon UK Ltd
+44 1684 297168 uk@engcon.com |
|
engcon International
+46 670 178 00 international@engcon.com |
