
Originele gebruiksaanwijzing




|
Beschrijving
|
Temperatuur
|
|---|---|
|
Bedrijfstemperatuur
|
-30° tot +50°C
|
|
Temperatuurbereik bij opslag
|
-30° tot +50°C
|
|
Naam van de fabrikant:
|
engcon Nordic AB
|
|---|---|
|
Adres:
|
Box 111, SE-833 22 Strömsund, ZWEDEN
|
|
Telefoon:
|
+ 46 670 178 00
|
|
E-mail:
|
info@engcon.se
|
|
Typeaanduiding:
|
|
|---|---|
|
Art.nr.:
|
Serienummer:
|
|
Max. hijspunt:
|
Max. hydr. druk:
|
|
Datum:
|
Overig:
|
|
Osynlig fras
|
![]() |
|
Krister Blomgren - Gemachtigde vertegenwoordiger, engcon Nordic AB
|
|
Osynlig fras
|
![]() |
Gevaar
| |
|
Geeft aan dat er een ongeval zal plaatsvinden indien de voorschriften niet worden opgevolgd. Risico op persoonlijk letsel of ongeval met dodelijke afloop.
|
![]() |
Waarschuwing
| |
|
Geeft aan dat er een ongeval kan plaatsvinden indien de voorschriften niet worden opgevolgd. Risico op persoonlijk letsel of ongeval met dodelijke afloop.
|
![]() |
Voorzichtig
| |
|
Geeft aan dat er een ongeval zal plaatsvinden indien de voorschriften niet worden opgevolgd. Risico op persoonlijk letsel.
|
|
Belangrijk
| ||
|
Geeft aan dat er een ongeval kan plaatsvinden indien de voorschriften niet worden opgevolgd. Risico op schade aan eigendom, werkproces of omgeving.
|
|
Opmerkingen
| ||
|
Extra informatie die de uitvoering of het begrip voor bepaald werk kunnen vereenvoudigen.
|
![]() |
Gevaar
| |
|
De grenzen voor kantelbelasting mogen niet worden overschreden. Het gewicht van het product en de extra reikwijdte kunnen de stabiliteit nadelig beïnvloeden. Risico op persoonlijk letsel en schade aan eigendom.
|
![]() |
Waarschuwing
| |
|
Probeer de maximumcapaciteit van de uitrusting nooit te veranderen door modificaties die niet zijn goedgekeurd door de leverancier. Risico op persoonlijk letsel en schade aan eigendom.
|
![]() |
Waarschuwing
| |
|
Lassen is niet toegestaan. Dit kan de veiligheid negatief beïnvloeden. Risico op persoonlijk letsel en schade aan eigendom. Voor laswerk, raadpleeg uw dealer of engcon Nordic AB.
|
![]() |
Waarschuwing
| |
|
Let vooral op de beweegbare details. Onoplettendheid kan beknellingsschade veroorzaken. Risico op persoonlijk letsel.
|
![]() |
![]() |
|
Belangrijk
| ||
|
Waarborg vóór montering de mengbaarheid ten opzichte van de hydraulische olie van de basismachine. In geval van de geringste twijfel, raadpleeg de leverancier voor de smeermiddelen. Een onjuist mengsel kan beschadigingen aan de hydraulische componenten veroorzaken.
|
|
Gegevens op typeplaatje:
|
![]()
Afbeelding1.
|
|
Artikelnummer
|
|
|
Typeaanduiding
|
|
|
Serienummer
|
|
|
Bouwjaar
|
|
|
Gewicht
|
|
|
Max. hijspunt
|
|
|
Max. hydraulische druk
|
![]() |
Als het draaikantelstuk aan een werktuigbevestiging moet worden gekoppeld, moet de bij machine behorende handleiding voor de aankoppeling van werktuigen worden gebruikt.
|
![]() |
Gevaar
| |
|
De grenzen voor kantelbelasting mogen niet worden overschreden. Het gewicht van het product en de extra reikwijdte kunnen de stabiliteit nadelig beïnvloeden. Risico op persoonlijk letsel en schade aan eigendom.
|
![]() |
Waarschuwing
| |
|
In geval van twijfel wat betreft kennis, uitrusting of werk ten aanzien van veiligheidsdetails, neem contact op met de dealer of engcon Nordic AB. Incorrecte montage kan de veiligheid in gevaar brengen.
|
|
Belangrijk
| ||
|
Montage en installatie mogen alleen worden uitgevoerd bij een door de fabrikant erkende werkplaats. Veranderingen wat betreft de montage mogen niet worden gedaan zonder toestemming van de fabrikant.
|
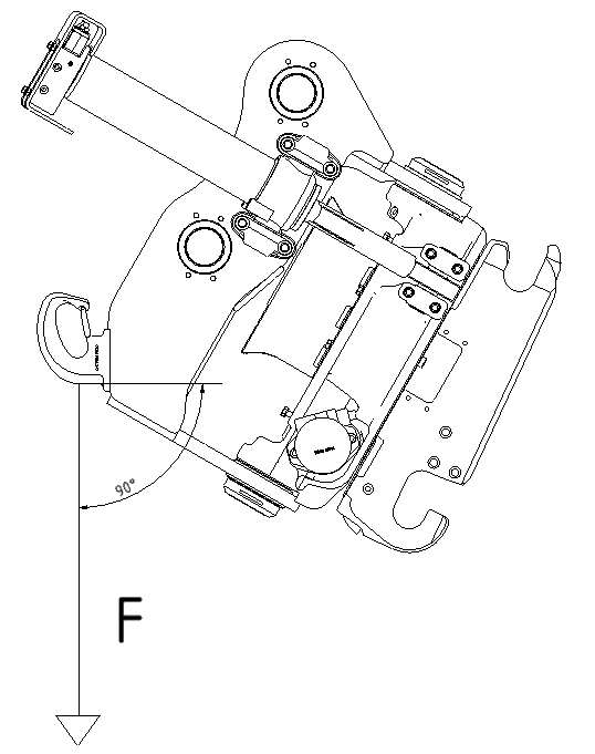
![]()
Afbeelding2.
|
Voorafgaand aan de montage
|
|
1. Controleer de grenswaarden voor de kantelbelasting, maar houd daarbij rekening met het gewicht en de extra reikwijdte. Het kan noodzakelijk zijn om bijvoorbeeld het volume van het werktuig te verkleinen.
2. Plaats de basismachine en het draaikantelstuk op een vlakke, niet-gladde ondergrond. Let erop dat het draaikantelstuk rechtop en in lijn met lepelsteel en drukstuk staat.
3. Indien nodig moet een verankerde ladder worden gebruikt.
|
![]()
Afbeelding3.
|
Montage
|
||||
|
1. Monteer de O-ringen indien deze moeten worden gebruikt.
2. Stuur het drukstuk zodanig dat het overeenkomt met de boringen in het bovenstuk van het draaikantelstuk.
3. Indien nodig de breedte met vulringen instellen.
4. Duw de hiervoor bedoelde bakpen vast.
5. Monteer de vergrendeling van de bakpen en controleer of deze goed vastzit.
|
|||||
![]()
Afbeelding4.
|
6. Stuur het drukstuk zodanig dat deze overeenkomt met de daartoe bedoelde boringen in het bovenstuk van het draaikantelstuk.
7. Laat de lepelsteel voorzichtig zakken, er mogen geen haperingen voorkomen.
8. Indien nodig de breedte met vulringen instellen.
9. Breng overvloedig vet aan op de gaten en bussen.
|
||||
![]()
Afbeelding5.
|
|
||||
|
10. Duw de hiervoor bedoelde bakpen vast.
11. Monteer de vergrendeling van de bakpen en controleer of deze goed vastzit.
|
|||||
![]() |
Voor aansluiting van de elektriciteit en de montage van hydraulische slangen, zie de bij het gekozen besturingssysteem behorende montagevoorschriften. Deze kunnen ook worden gedownload op onze website of via contact met engcon.
|
![]() |
1. Sluit een hydraulische slang aan tussen (P) en (T) op het hydraulische circuit van de graafmachine.
2. Open de afsluitkleppen voor (P) en (T).
3. Laat de hydraulische olie ongeveer 3 minuten door het oliefilter van de graafmachine lopen om ervoor te zorgen dat de slangen en leidingen schoon zijn.
4. Sluit de afsluitkleppen voor (P) en (T).
5. Ontkoppel en verwijder de hydraulische slang uit het hydraulische circuit van de graafmachine.
|
|
Belangrijk
| ||
|
Onderhoud en reparatie van het elektrische systeem mogen alleen door de vakman worden gedaan.
|
![]() |
Waarschuwing
| |
|
Onderbreek de stroomtoevoer in het elektrische systeem en verwijder onder stroom staande voorwerpen voordat u met het werk begint. Risico op persoonlijk letsel.
|
![]() |
Waarschuwing
| |
|
Let op isolatie van elektronische bedrading en componenten tijdens montage van elektrische uitrusting. Kortsluiting in de bedrading kan brandschade veroorzaken.
|
![]() |
Plaats de bijgevoegde waarschuwingssticker bij de plaats van de machinist op een duidelijk zichtbare, maar niet storende plaats in de cabine.
|
|||
|
![]() |
Gevaar
| |
|
De grenzen voor kantelbelasting mogen niet worden overschreden. Het gewicht van het product en de extra reikwijdte kunnen de stabiliteit nadelig beïnvloeden. Risico op persoonlijk letsel en schade aan eigendom.
|
![]() |
Zie aanvullende informatie in aparte gebruikershandleiding voor het van toepassing zijnde werktuig.
|
![]() |
Waarschuwing
| |
|
Werk voorzichtig tijdens hantering van lange voorwerpen. Houd rekening met het levende gewicht en het toenemende risicogebied. Risico op persoonlijk letsel en schade aan eigendom.
|
![]() |
Waarschuwing
| |
|
Waarborg altijd een goede grip tijdens het hanteren van voorwerpen. Risico op persoonlijk letsel en schade aan eigendom.
|
![]() |
Waarschuwing
| |
|
Het is niet toegestaan om mensen of personenbakken op te tillen met een draaikantelstuk. Risico op persoonlijk letsel en beschadiging van eigendom.
|
|
Belangrijk
| ||
|
Controleer de maximaal aangegeven capaciteit van de graafmachine. Gebruik van het product met meer dan de maximum aangegeven capaciteit kan schade aan de machine veroorzaken.
|
|
Goedgekeurd
|
Niet goedgekeurd
|
|
![]()
Afbeelding6.
|
![]()
Afbeelding7.
|
![]()
Afbeelding8.
|
![]() |
Waarschuwing
| |
|
De basismachine moet zijn uitgerust met lasthoudkleppen op giek/lepelsteel en een overbelastingswaarschuwing bij het gebruik van een hijspunt op het draaikantelstuk. Risico op persoonlijk letsel en beschadiging van eigendom.
|
![]() |
Zie de afzonderlijke gebruiksaanwijzing, u vindt de nieuwste versie op documents.engcon.com
|
5.4.1. Werktuig aankoppelen, mechanische vergrendeling |
![]() |
|
1. Open de werktuigvergrendeling met een geschikt gereedschap.
|
|
|
|
|
|
Op modellen met schroef moet deze linksom worden gedraaid totdat de spieën naar binnen zijn gegaan en de indicatiepen* in de buitenste stand staat.
|
|
|
Gebruik op modellen met hendel een verlengstuk en beweeg de hendel naar zijn eindpositie. De indicatiepen* moet dan in zijn buitenste stand staan en de vergrendelingsbeugel moet de vergrendelspieën open houden.
|
![]() |
|
2. Beweeg de werktuigbevestiging richting werktuig.
|
![]() |
|
Om overbelasting van de snelwissel tijdens gebruik te voorkomen, moeten bij aankoppelen de vergrendelpennen van de snelwissel weg van de vorkpunten af gedraaid worden.
|
|
|
3. Koppel de werktuigbevestiging aan het werktuig.
|
![]() |
|
4. Hef het draaikantelstuk iets omhoog, zodat het werktuig in de werktuigbevestiging schuift.
|
![]() |
|
5. Sluit de machinebevestiging met een daarvoor geschikt gereedschap.
|
![]() |
|
|
|
|
Op modellen met schroef moet deze rechtsom worden gedraaid totdat de spieën naar buiten zijn gegaan en de indicatiepen* in de binnenste stand staat.
|
|
|
Op modellen met hendel sluit de vergrendeling automatisch als de as van het tussenstuk de vergrendelingsbeugel naar boven duwt.
|
![]() |
|
6. Controleer of de vergrendelfunctie van de snelwissel pakt.
Bij een snelwissel van engcon moet de blauwe indicatiepen niet meer uit de snelwissel steken. De plaats van de indicatiepen* kan per model draaikantelstuk verschillen. |
![]() |
|
|
|
5.4.2. Werktuig loskoppelen, mechanische vergrendeling |
![]() |
|
1. Plaats het werktuig op de grond, met de vergrendelspieën weg van de cabine.
|
|
|
2. Open de werktuigvergrendeling met een geschikt gereedschap.
|
![]() |
|
|
|
|
Op modellen met schroef moet deze linksom worden gedraaid totdat de spieën naar binnen zijn gegaan en de indicatiepen* in de buitenste stand staat.
|
|
|
Gebruik op modellen met hendel een verlengstuk en beweeg de hendel naar zijn eindpositie. De indicatiepen* moet dan in zijn buitenste stand staan en de vergrendelingsbeugel moet de vergrendelspieën open houden.
|
![]() |
|
In deze stand zit het werktuig los!
|
|
|
| |
|
3. De vergrendelspieën staan nu in de open stand en het werktuig zit los. Hef het draaikantelstuk voorzichtig weg van het werktuig.
|
![]() |
|
|
|
![]() |
Gevaar
| |
|
Controleer de bevestigingen regelmatig en let vooral op scheurvorming. Risico op persoonlijk letsel en schade aan eigendom.
|
![]() |
Waarschuwing
| |
|
Let vooral op de beweegbare details. Onoplettendheid kan beknellingsschade veroorzaken. Risico op persoonlijk letsel.
|

|
Werktuigbevestiging
|
A (max.)
|
|---|---|
|
S30
|
5mm
|
|
S40
|
10mm
|
![]() |
Gevaar
| |
|
Controleer de bevestigingen regelmatig en let vooral op scheurvorming. Risico op persoonlijk letsel en schade aan eigendom.
|
![]() |
Waarschuwing
| |
|
Waarborg dat alle service- en onderhoudswerkzaamheden worden verricht volgens de aanbevelingen van de fabrikant. Gebrekkig onderhoud kan defecten aan de basismachine en toebehorende uitrusting veroorzaken.
|
![]() |
Waarschuwing
| |
|
Bij het vervangen van slangen mogen er alleen slangen met een perskoppeling worden gebruikt. Gebruik geen schroefkoppelingen. Risico op persoonlijk letsel en beschadiging van eigendom.
|
|
Belangrijk
| ||
|
Denk aan het gevaar voor mens en milieu wat betreft hydraulische olie en smeervet. Lees de veiligheidsvoorschriften voor de door u gebruikte hydraulische olie en smeervet. Risico op persoonlijk letsel en schade aan het milieu.
|
|
Belangrijk
| ||
|
Maak uw product altijd zorgvuldig schoon. Gebrekkige reiniging kan schade aan de uitrusting veroorzaken.
|
![]() |
Waarschuwing
| |
|
Vermijd contact met hete hydraulische olie. Denk aan het risico op brandwonden.
|
![]() |
Waarschuwing
| |
|
Gebruik nooit uw handen om lekkage in het hydraulische systeem op te sporen. Gebruik hiervoor bedoelde veiligheidsuitrusting. Hydraulische olie die onder druk staat kan de huid penetreren. Risico op persoonlijk letsel.
|
![]() |
Waarschuwing
| |
|
Let vooral op de beweegbare details. Onoplettendheid kan beknellingsschade veroorzaken. Risico op persoonlijk letsel.
|
![]() |
Waarschuwing
| |
|
Het hydraulische systeem moet drukloos worden gemaakt voordat met werkzaamheden in het systeem een aanvang wordt genomen. Risico op persoonlijk letsel en schade aan eigendom.
|
|
Belangrijk
| ||
|
Gebruik geen smeervetten waar vaste deeltjes doorheen zijn gemengd, zoals molybdeen, grafiet of koper. Deze deeltjes kunnen ertoe leiden dat het smeerblok niet langer werkt.
|
|
Belangrijk
| ||
|
Zorg bij smeren of het aansluiten van het smeersysteem voor een optimaal schone omgeving. Het smeersysteem is gevoelig voor vuil.
|
|
Belangrijk
| ||
|
Bij gebruik van hydraulische uitrustingsstukken en zwaardere graafwerkzaamheden is vet met een hogere viscositeit van de basisolie en een grotere hoeveelheid vet vereist.
|
|
Belangrijk
| ||
|
De opgegeven hoeveelheid vet is de MINIMALE hoeveelheid die gevuld moet worden.
|
|
EC102
|
EC104
|
![]() |
![]() |
|
|
|
EC106
| |
![]() |
|
1. Verwijder de afdekplaat (indien nodig) en de plug van de schroefverbinding.
2. Reinig en verwijder al het vet uit het gat waar de plug in zat.
|
![]() | |
|
Afbeelding10. Plug
|
||
|
3. Draai het wormwiel linksom en kijk of vet zich ophoopt in het gat.
|
![]() | |
|
Afbeelding11. Rotatie
|
||
|
4. Als vet zich ophoopt in het gat, hoeft er geen vet te worden toegevoegd. Vul anders met vet (tijdens het roteren, indien mogelijk) en herhaal stap 3.
|
| |
![]() |
Waarschuwing
| |
|
Let vooral op de beweegbare details. Onoplettendheid kan beknellingsschade veroorzaken. Risico op persoonlijk letsel.
|
|
1. Zorg ervoor dat het kantelbovenstuk tegen de basismachine staat met behulp van een gereedschap met een wigeffect. Wig tussen het rotatorframe en het kantelbovenstuk bij de kantelas die van de cabine afwijst.
2. Draai de twee bouten van de kantelasring los.
3. Plaats vulplaten aan de binnenkant van de kantelaxiaalring op de kantelas die naar de cabine wijst.
4. Monteer de kanteltaatsring terug.
|
|
![]()
Afbeelding12.
|
|
1. Draai de bouten vast volgens 6.8. Aanhaalmoment
|
|
![]()
Afbeelding13.
|
|
Belangrijk
| ||
|
De controle moet uitgevoerd worden zonder aangekoppeld uitrustingsstuk.
|
|
Om de rotatie- en breekspeling te regelen, zijn de volgende gereedschappen nodig:
|
![]() |
|
|
- Verlengde 10 mm inbussleutel.
- Meetklok met magnetische voet.
- Zeskantdop, lange uitvoering
- Breekstang.
|
|
1. Breng het draaikantelstuk omhoog tot een comfortabele werkhoogte en zet de machine uit.
2. Verwijder de afdekplaat (indien nodig) en de plug van de schroefverbinding. Zie Afbeelding14.
3. Reinig en verwijder al het vet uit het gat waar de plug in zat.
4. Draai het wormwiel totdat een vrij oppervlak zonder schroefkop zichtbaar is.
5. Zet het draaikantelstuk neer en druk hem op een vlakke en stevige ondergrond.
|
![]() |
||||||||||||||||
|
Afbeelding14. Demonstreer de beschermkap.
|
|||||||||||||||||
|
6. Plaats de zeskantdop in het gat en zorg ervoor dat deze in contact komt met het wormwiel.
7. Plaats de meetklok met magnetische voet en zet de klok op nul tegen de bovenkant van de zeskantdop.
8. Til het draaikantelstuk voorzichtig van de grond en lees de klok af.
|
![]() |
||||||||||||||||
|
Afbeelding15. Vrij oppervlak zonder schroefkop.
|
|||||||||||||||||
|
![]() |
||||||||||||||||
|
9. Gebruik de breekstang en lees eventuele wijzigingen af op de meetklok.
| |||||||||||||||||
|
Afbeelding16. Breek met de breekstang.
|
|
1. Gebruik de breekstang om de snelwissel naar links te trekken.
2. Demonteer de motorschroeven en verwijder de motor.
3. Reinig de wormschroef grondig en verwijder al het vet.
4. Monteer de meetklok op het rotatorframe en zet de klok op nul tegen het uiteinde van het wormwiel.
5. Gebruik de breekstang om de snelwissel naar rechts te trekken en lees de meetklok af.
|
![]() |
|||||||||||||
|
Afbeelding17. Draai de snelwissel naar links.
|
||||||||||||||
![]() |
||||||||||||||
|
Afbeelding18. Verwijder de motor.
|
||||||||||||||
|
![]() |
|||||||||||||
|
Afbeelding19. Draai de snelwissel naar rechts.
|
|
Opmerkingen
| ||
|
Wij raden aan om de afstelling te laten uitvoeren door een vakman in een werkplaatsomgeving.
|
|
Opmerkingen
| ||
|
Gebrek aan smering kan de taatsringen vervormen.
|
|
Controleer of de taatsringen vlak zijn.
|
![]() |
|
|
Max slijtage: Min 4,5mm
| ||
|
We raden aan om altijd nieuwe axiale ringen te monteren voordat u ze afstelt.
|
|
|
![]() |
|
Voor het controleren van de lasthoudkleppen is een hefarm nodig.
|
|
|
Belast de kantelfunctie in beide richtingen, deze mag niet bewegen.
|
|
|
Als er toch beweging is, vervang dan de lasthoudklep op de cilinder die uitgeschoven kan worden (de kant waar het kantelbovenstuk van het rotatorframe af beweegt).
|
|
|
Zie ook paragraaf 9.2. Overzicht draaikantelstuk.
|
|
Verbinding
|
Afmeting
|
Kwaliteit
|
Aantal
|
Koppel
|
|---|---|---|---|---|
|
Schroefdeksel
|
M10
|
12.9
|
4
|
79 Nm
|
|
Snelwissel/
Wormwiel* |
M12
|
12.9
|
10
|
136 Nm
|
|
Zadelbevestiging
|
M10
|
12.9
|
4
|
79 Nm
|
|
Kantelas
|
M6
|
12.9
|
2
|
17 Nm
|
|
Hydraulische motor
|
M8
|
12.9
|
3
|
40 Nm
|
|
Verbinding
|
Afmeting
|
Kwaliteit
|
Aantal
|
Koppel
|
|---|---|---|---|---|
|
Schroefdeksel
|
M10
|
12.9
|
4
|
79 Nm
|
|
Snelwissel/
Wormwiel* |
M12
|
12.9
|
16
|
136 Nm
|
|
Zadelbevestiging
|
M12
|
12.9
|
4
|
136 Nm
|
|
Kantelas
|
M12
|
12.9
|
8
|
136 Nm
|
|
Hydraulische motor
|
M8
|
12.9
|
2
|
40 Nm
|
|
Verbinding
|
Afmeting
|
Kwaliteit
|
Aantal
|
Koppel
|
|---|---|---|---|---|
|
Schroefdeksel
|
M10
|
12.9
|
6
|
79 Nm
|
|
Snelwissel/
Wormwiel* |
M14
|
12.9
|
16
|
217 Nm
|
|
Zadelbevestiging
|
M12
|
12.9
|
4
|
136 Nm
|
|
Kantelas
|
M16
|
12.9
|
8
|
333 Nm
|
|
Klemhelft
|
M10
|
12.9
|
4
|
79 Nm
|
|
Hydraulische motor
|
M12
|
12.9
|
2
|
136 Nm
|
![]() |
Waarschuwing
| |
|
Vervang beschadigde/onleesbare stickers/plaatjes voordat de machine in gebruik wordt genomen. Risico op persoonlijk letsel en schade aan eigendom.
|
![]() |
Zie de afzonderlijke gebruiksaanwijzing, u vindt de nieuwste versie op documents.engcon.com
|




![]() |
Belangrijk om het gewicht van het draaikantelstuk af te trekken bij de hefberekening.
|
![]() |
Waarschuwing voor draaiende werktuig.
|
![]() |
Waarschuwing voor kantelbaar werktuig.
|
![]() |
Werk voorzichtig tijdens hantering van lange voorwerpen. Houd rekening met het levende gewicht en het toenemende risicogebied.
|
![]() |
Sta of zit nooit onder een opgeheven werktuig!
|
![]() |
Houd afstand voor draaiende, kantelende en zijdelingse verplaatsing van werktuigen! Risicogebied 3 meter.
|
![]() |
Beknellingsgevaar bij beweegbare onderdelen.
|
![]() |
De voor de machine goedgekeurde kantelbelasting mag nooit worden overschreden.
|
![]() |
Sta of zit nooit onder een hangende lading.
|
![]() |
Lees de gebruikershandleiding.
|

|
Beschrijving
|
EC102
|
EC104
|
EC106
|
|
|---|---|---|---|---|
|
Max. machinegrootte
|
t
|
3
|
4
|
6
|
|
Standaard snelwissel
|
S30
|
S40
|
S40
|
|
|
Breedte (A)
|
mm*
|
180
|
280
|
289
|
|
Breedte (B)
|
mm*
|
155
|
161
|
220
|
|
Breedte (C)
|
mm*
|
160
|
169
|
219
|
|
Totale lengte (D)
|
mm*
|
435
|
463
|
500
|
|
Opbouwhoogte (E)
|
mm*
|
282
|
360
|
410
|
|
Gewicht
|
kg*
|
90
|
130
|
185
|
|
Max. hydraulische druk
|
MPa
|
22
|
22
|
22
|
|
Kantelhoek
|
°
|
2x40
|
2x45
|
2x45
|
|
Rotatie
|
∞
|
∞
|
∞
|
|
|
Elektrisch systeem
|
V
|
12
|
12
|
12/24
|
|
Beschrijving
|
EC102
|
EC104
|
EC106
|
|
|---|---|---|---|---|
|
Max. breekkracht
|
kNm
|
20
|
28
|
45
|
|
Max. bakbreedte
|
mm
|
900
|
1.000
|
1.200
|
|
Kanteltijd van eind- tot eindpositie
|
s / l/min
|
3/7
|
3/7
|
3/15
|
|
Draaitijd voor één omwenteling bij hydr. doorstroom
|
s / l/min
|
7/20
|
7/21
|
6,5/30
|
|
Max. aanbev. druk in retourleiding
|
MPa
|
2,5
|
2,5
|
2,5
|
|
Beschrijving
|
EC102
|
EC104
|
EC106
|
|
|---|---|---|---|---|
|
Koppel
|
Nm*
|
Nvt
|
Nvt
|
7.000 (kantelen rechts)
|
|
Koppel
|
Nm*
|
Nvt
|
Nvt
|
6.000 (kantelen links)
|
|
Woord
|
Beschrijving
|
|---|---|
|
Basismachine
|
De machine die de van toepassing zijnde uitrusting draagt. Graafmachine of graafladers.
|
|
ECxxR (bijvoorbeeld EC219R)
|
Rotator, geen kantelfunctie.
|
|
ECxxU (bijvoorbeeld EC219U)
|
Draaikantelstuk zonder kleppenblok en svivel.
|
|
ECxxW (bijvoorbeeld EC219W)
|
Draaikantelstuk met extra breed kantelbovenstuk.
|
|
Drukstuk
|
Verbinding tussen opbreekcilinder en machinebevestiging, alternatief direct gemonteerd draaikantelstuk.
|
|
Bewegend gewicht
|
Zwengelende/heen en weer bewegende lading
|
|
Machinebevestiging
|
Werktuigbevestiging die direct op de lepelsteel van de graafmachine wordt gemonteerd.
|
|
Werktuigbevestiging
|
Het gedeelte van het draaikantelstuk dat op de bak of een ander werktuig aansluit.
|
|
Lepelsteel
|
"Arm" vooraan op de graafmachine.
|
|
Kantelbelasting
|
Geeft het maximale gewicht aan dat de graafmachine kan optillen zonder voorwaarts te kantelen.
|
|
Pos.
|
Benaming
|
![]() |
|
1
|
Huis
|
|
|
2
|
Wormschroef
|
|
|
3
|
Bus wormschroef
|
|
|
4
|
Afstand schroefdeksel
|
|
|
5
|
Schroefdeksel
|
|
|
6
|
Hydraulische motor
|
|
|
7
|
Wormwiel
|
|
|
8
|
Lagerring
|
|
|
9
|
Afdekplaat
|
|
|
10
|
Kantelbovenstuk
|
|
|
11
|
Bus kantelas
|
|
|
12
|
Vulringen-kit kantelas
|
|
|
13
|
Kantelas
|
|
|
14
|
Kantelcilinder
|
|
|
15
|
Geleidelager
|
|
|
16
|
Cilinderas
|
|
|
17
|
Bus zadelbevestiging
|
|
|
18
|
Zadelbevestiging
|
|
|
19
|
Werktuigbevestiging
|
|
|
20
|
Vergrendelingsset
|
![]() |
Waarschuwing
| |
|
Waarborg dat alle service- en onderhoudswerkzaamheden worden verricht volgens de aanbevelingen van de fabrikant. Gebrekkig onderhoud kan defecten aan de basismachine en toebehorende uitrusting veroorzaken.
|
![]() |
Waarschuwing
| |
|
Zie erop toe dat de vergrendelcilinder zich in maximaal uitgeschoven positie bevindt voordat de vergrendelhaak wordt gedemonteerd. Risico op persoonlijk letsel en beschadiging van eigendom.
|
![]() |
Waarschuwing
| |
|
Lassen is niet toegestaan. Dit kan de veiligheid negatief beïnvloeden. Risico op persoonlijk letsel en schade aan eigendom. Voor laswerk, raadpleeg uw dealer of engcon Nordic AB.
|
|
Datum
|
250 h
|
500 h
|
Opmerking/maatregel
|
Stempel/Paraaf
|
|
![]() |
|||||
|
Datum
|
250 h
|
500 h
|
Opmerking/maatregel
|
Stempel/Paraaf
|
![]() |
||||
|
Datum
|
250 h
|
500 h
|
Opmerking/maatregel
|
Stempel/Paraaf
|
![]() |
||||
|
engcon Australia Pty Ltd
+61 2 7252 5279 australia@engcon.com |
engcon Ireland Ltd
+353 15 686 742 ireland@engcon.com |
|
engcon Austria GmbH
+43 676 3786239 info-at@engcon.com |
engcon Japan K.K.
+81 45 489 5011 japan@engcon.com |
|
engcon Belgium BVBA
+32 15 79 73 10 belgium@engcon.com |
engcon Korea Ltd
+82 70 4472 9978 engcon_kor@engcon.com |
|
engcon Canada Inc.
+1 438-226-1716 canada@engcon.com |
engcon Netherlands
+31 85 82 23 550 netherlands@engcon.com |
|
engcon Denmark A/S
+45 70 20 13 50 info@engcon.dk |
engcon North America Inc.
+1 203 691 5920 northamerica@engcon.com |
|
OY engcon Finland AB
+358 6322 815 finland@engcon.com |
engcon Norway AS
+47 22 75 44 44 norge@engcon.com |
|
engcon France SAS
+33 1 60 79 49 70 france@engcon.com |
engcon Poland Sp. z o.o.
+48 61 894 00 47 info@engcon.pl |
|
engcon Germany GmbH
+49 9342 934 85 0 germany@engcon.com |
engcon Sweden AB
+46 670 65 04 00 sweden@engcon.com |
|
engcon International
+46 670 178 00 international@engcon.com |
engcon UK Ltd
+44 1684 297168 uk@engcon.com |
