
Originele gebruiksaanwijzing




|
Typeaanduiding:
|
|
![]() |
|
|
Art.nr.:
|
Serienummer:
|
![]() |
|
|
Max. hijspunt:
|
Max. hydr. druk:
|
![]() |
|
|
Datum:
|
Overig:
|
![]() |
|
|
Geharmoniseerde normen
|
|
|---|---|
|
SS-EN ISO 12100:2010
|
SS-EN 474-1:2022
|
|
SS-EN 474-5:2022
|
SS-ISO 13031:2016
|
|
SS-ISO 20474-1:2017
|
SS-ISO 20474-5:2017
|

![]() |
Gevaar
| |
|
Geeft aan dat er een ongeval zal plaatsvinden indien de voorschriften niet worden opgevolgd. Risico op persoonlijk letsel of ongeval met dodelijke afloop.
|
![]() |
Waarschuwing
| |
|
Geeft aan dat er een ongeval kan plaatsvinden indien de voorschriften niet worden opgevolgd. Risico op persoonlijk letsel of ongeval met dodelijke afloop.
|
![]() |
Voorzichtig
| |
|
Geeft aan dat er een ongeval zal plaatsvinden indien de voorschriften niet worden opgevolgd. Risico op persoonlijk letsel.
|
|
Belangrijk
| ||
|
Geeft aan dat er een ongeval kan plaatsvinden indien de voorschriften niet worden opgevolgd. Risico op schade aan eigendom, werkproces of omgeving.
|
|
Opmerkingen
| ||
|
Extra informatie die de uitvoering of het begrip voor bepaald werk kunnen vereenvoudigen.
|
![]() |
Gevaar
| |
|
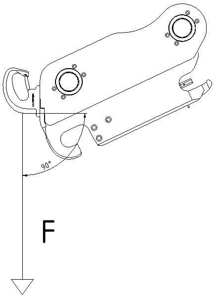
De grenzen voor kantelbelasting mogen niet worden overschreden. Het gewicht van het product en de extra reikwijdte kunnen de stabiliteit nadelig beïnvloeden. Risico op persoonlijk letsel en schade aan eigendom.
|
![]() |
Waarschuwing
| |
|
Onderbreek het werk onmiddellijk en controleer waarom het systeem tijdens bedrijf een waarschuwing voor incorrecte aankoppeling geeft. Risico op persoonlijk letsel en schade aan eigendom.
|
![]() |
Voorzichtig
| |
|
Gebruik gehoorbescherming tijdens werk in nabijheid of hantering van een Q-Safe-machinebevestiging wanneer deze is aangekoppeld. Risico op gehoorbeschadiging.
|
![]()
Afbeelding1.
|
![]() |
|
Positie
|
Beschrijving
|
|---|---|
|
1
|
Voedingsspanning
|
|
2
|
Alarmindicatie
|
|
3
|
Sensor op haak voor werktuigbevestiging op machine
|
|
4
|
Sensor uitstootmechanisme voor werktuigbevestiging op machine
|
|
5
|
Sensor op haak voor werktuigbevestiging
|
|
6
|
Sensor op uitstoter voor werktuigbevestiging
|
|
7
|
Waarschuwingslicht
|

![]() |
Waarschuwing
| |
|
Probeer de maximumcapaciteit van de uitrusting nooit te veranderen door modificaties die niet zijn goedgekeurd door de leverancier. Risico op persoonlijk letsel en schade aan eigendom.
|
![]() |
Waarschuwing
| |
|
Lassen is niet toegestaan. Dit kan de veiligheid negatief beïnvloeden. Risico op persoonlijk letsel en schade aan eigendom. Voor laswerk, raadpleeg uw dealer of engcon Nordic AB.
|
![]() |
Waarschuwing
| |
|
Let vooral op de beweegbare details. Onoplettendheid kan beknellingsschade veroorzaken. Risico op persoonlijk letsel.
|
|
Belangrijk
| ||
|
Waarborg vóór montering de mengbaarheid ten opzichte van de hydraulische olie van de basismachine. In geval van de geringste twijfel, raadpleeg de leverancier voor de smeermiddelen. Een onjuist mengsel kan beschadigingen aan de hydraulische componenten veroorzaken.
|
|
Gegevens op typeplaatje:
|
![]() |
|
Artikelnummer
|
|
|
Typeaanduiding
|
|
|
Serienummer
|
|
|
Bouwjaar
|
|
|
Gewicht
|
|
|
Max. hijspunt
|
|
|
Max. hydraulische druk
|
|
|
Afbeelding3.
|
![]() |
Gevaar
| |
|
De grenzen voor kantelbelasting mogen niet worden overschreden. Het gewicht van het product en de extra reikwijdte kunnen de stabiliteit nadelig beïnvloeden. Risico op persoonlijk letsel en schade aan eigendom.
|
![]() |
Waarschuwing
| |
|
In geval van twijfel wat betreft kennis, uitrusting of werk ten aanzien van veiligheidsdetails, neem contact op met de dealer of engcon Nordic AB. Incorrecte montage kan de veiligheid in gevaar brengen.
|
|
Belangrijk
| ||
|
Montage en installatie mogen alleen worden uitgevoerd bij een door de fabrikant erkende werkplaats. Veranderingen wat betreft de montage mogen niet worden gedaan zonder toestemming van de fabrikant.
|
![]() |
Voorafgaand aan de montage
|
|
Controleer de grenzen voor kantelbelasting. Houd rekening met het gewicht van uw product en de toegenomen reikwijdte. De montage kan het noodzakelijk maken om het volume van uw werktuig te verkleinen.
|
|
|
Plaats de basismachine en de machinebevestiging op een vlakke en niet-gladde ondergrond. Zorg ervoor dat het product rechtop en in lijn met lepelsteel en drukstuk staat.
|
|
|
Afbeelding4.
|
![]() |
Montage
|
||||
|
1. Monteer de O-ringen indien deze moeten worden gebruikt.
2. Stuur het drukstuk zodanig dat het overeenkomt met de boringen in de machinebevestiging.
3. Indien nodig de breedte met vulringen instellen.
4. Duw de hiervoor bedoelde bakpen vast.
5. Monteer de vergrendeling van de bakpen en controleer of deze goed vastzit.
|
|||||
|
Afbeelding5.
|
|||||
|
| |||||
![]() |
6. Stuur de lepelsteel zodanig dat deze overeenkomt met de daartoe bedoelde boringen in de machinebevestiging.
7. Laat de lepelsteel voorzichtig zakken, er mogen geen haperingen voorkomen.
8. Indien nodig de breedte met vulringen instellen.
9. Breng overvloedig vet aan op de gaten en bussen.
|
||||
|
Afbeelding6.
|
|||||
|
| |||||
![]() |
|
||||
|
10. Duw de hiervoor bedoelde bakpen vast.
11. Monteer de vergrendeling van de bakpen en controleer of deze goed vastzit.
|
|||||
|
Afbeelding7.
|
![]() |
1. Sluit de drukleiding (P) en retourleiding (T) aan op de graafmachine.
2. Laat de hydraulische olie ongeveer 3 minuten door het oliefilter van de graafmachine lopen om ervoor te zorgen dat de slangen en leidingen schoon zijn.
|
|
Belangrijk
| ||
|
Onderhoud en reparatie van het elektrische systeem mogen alleen door de vakman worden gedaan.
|
![]() |
Waarschuwing
| |
|
Onderbreek de stroomtoevoer in het elektrische systeem en verwijder onder stroom staande voorwerpen voordat u met het werk begint. Risico op persoonlijk letsel.
|
![]() |
Waarschuwing
| |
|
Let op isolatie van elektronische bedrading en componenten tijdens montage van elektrische uitrusting. Kortsluiting in de bedrading kan brandschade veroorzaken.
|
![]()
Afbeelding8. Niet zichtbaar fotobijschrift
|
4.4.2. Montage hydraulische slangen |
|||
|
Zorg ervoor dat de lengte van de slangen zodanig is dat ze niet te veel doorhangen of dat ze onder spanning komen te staan wanneer uw product wordt gekanteld.
|
||||
|
Monteer de hydraulische slangen volgens Afbeelding8.
|
||||
![]()
Afbeelding9. Bildtext
|
||||
|
||||
|
Laagste hydraulische toevoerdruk voor vergrendelsysteem is 22 MPa (220 bar).
|
||||
|
Houd rekening met de maximale ingangsdruk. Zie hoofdstuk 9. Technische gegevens.
|
||||
|
Maak indien mogelijk gebruik van vrije retour naar het reservoir. De tegendruk in de retourleiding mag niet meer dan 2,5 MPa (25 bar) bedragen.
|
||||
|
| ||||
![]()
Afbeelding10. Niet zichtbaar fotobijschrift
|
Voor EC-Oil S30 (DC2)
|
|||
|
Monteer de hydraulische slangen volgens Afbeelding10.
|
||||
![]() |
||||
![]() |
||||
|
| ||||
![]()
Afbeelding11. Niet zichtbaar fotobijschrift
|
Voor EC-Oil S40 (DC2)
|
|||
|
Monteer de hydraulische slangen volgens Afbeelding11.
|
||||
![]() |
||||
![]() |
||||
![]() |
||||
![]() |
||||
![]() |
||||
|
| ||||
![]()
Afbeelding12. Niet zichtbaar fotobijschrift
|
Optie geen hyd. voor EC-Oil S40 (DC2)
|
|||
|
Monteer de hydraulische slangen volgens Afbeelding12.
|
||||
![]() |
||||
![]() |
||||
|
| ||||
![]()
Afbeelding13. Niet zichtbaar fotobijschrift
|
Voor EC-Oil S45 (DC2)
|
|||
|
Monteer de hydraulische slangen volgens Afbeelding15.
|
||||
![]() |
||||
![]() |
||||
![]() |
||||
![]() |
||||
![]() |
||||
|
| ||||
![]()
Afbeelding14. Niet zichtbaar fotobijschrift
|
Optie 5 hyd. voor EC-Oil S45 (DC2)
|
|||
|
Monteer de hydraulische slangen volgens Afbeelding15.
|
||||
![]() |
||||
![]() |
||||
![]() |
||||
![]() |
||||
![]() |
||||
![]() |
||||
|
| ||||
![]()
Afbeelding15. Niet zichtbaar fotobijschrift
|
Voor EC-Oil S60 (DC2)
|
|||
|
Monteer de hydraulische slangen volgens Afbeelding15.
|
||||
![]() |
||||
![]() |
||||
![]() |
||||
![]() |
||||
![]() |
||||
|
| ||||
![]()
Afbeelding16. Niet zichtbaar fotobijschrift
|
Optie 5 hyd. voor EC-Oil S60 (DC2)
|
|||
|
Monteer de hydraulische slangen volgens Afbeelding16.
|
||||
![]() |
||||
![]() |
||||
![]() |
||||
![]() |
||||
![]() |
||||
![]() |
||||
|
| ||||
![]()
Afbeelding17. Niet zichtbaar fotobijschrift
|
Voor EC-Oil S70 (DC2)
|
|||
|
Monteer de hydraulische slangen volgens Afbeelding17.
|
||||
![]() |
||||
![]() |
||||
![]() |
||||
![]() |
||||
![]() |
||||
|
| ||||
![]()
Afbeelding18. Niet zichtbaar fotobijschrift
|
Optie 5 hyd. voor EC-Oil S70 (DC2)
|
|||
|
Monteer de hydraulische slangen volgens Afbeelding18.
|
||||
![]() |
||||
![]() |
||||
![]() |
||||
![]() |
||||
![]() |
||||
![]() |
![]() |
1. Demonteer de afdekkap en de bijbehorende ringen en bouten.
|
|
| |
![]() |
2. Monteer het aansluitblok en de bijbehorende ringen en bouten met een aanhaalmoment van 79 Nm.
|
|
Positie
|
Artikelnummer
|
Beschrijving
|
|---|---|---|
|
1
|
1073648
|
Covering plate S45
|
|
2
|
611040
|
Washer NL 8mm
|
|
3
|
6000143
|
Screw MC6S M8x25 12.9 ZFSHL
|
|
4
|
1078272
|
Block ECO45 W-S45-quick hitch
|
|
5
|
611597
|
Screw MC6S M8x50H 12.9 Geomet ISO4762
|
|
6
|
710912
|
O-ring 15,6x1,78
|
|
Positie
|
Artikelnummer
|
Beschrijving
|
|---|---|---|
|
1
|
1071029
|
Cover plate S60 - without ECO-block
|
|
2
|
611041
|
Washer NL10-DPE 10,7x16,6x2,7
|
|
3
|
612019
|
Screw MC6S 10x35 12.9 ZFSHL ISO4762
|
|
4
|
1071930
|
Block ECO60 W-S60-quick hitch
|
|
5
|
612022
|
Screw MC6S 10x55 12.9 ZFSHL ISO4762
|
|
6
|
7001829
|
O-ring 21,95x1,78 NBR 90 shore
|
|
Positie
|
Artikelnummer
|
Beschrijving
|
|---|---|---|
|
1
|
1073694
|
Covering plate S70
|
|
2
|
611041
|
Washer NL 10mm
|
|
3
|
6000195
|
Screw MC6S M10x25 12.9 ZFSHL
|
|
4
|
1074950
|
Block ECO70 W-S70-quick hitch
|
|
5
|
6000110
|
Screw MC6S M10x70 12.9 ZFSHL
|
|
6
|
7001901
|
O-ring 31,47x1,78
|
![]() |
![]() |
|
Positie
|
Artikelnummer
|
Beschrijving
|
|---|---|---|
|
1
|
711522
|
Pipe Plug DIN 906 3/8" 180154
|
|
Positie
|
Artikelnummer
|
Beschrijving
|
|---|---|---|
|
1
|
711524
|
Pipe Plug DIN 906 1/2" 180156
|
|
Positie
|
Artikelnummer
|
Beschrijving
|
|---|---|---|
|
1
|
7000261
|
Pipe Plug DIN 906 3/4"
|
![]() |
Zie de aparte montagevoorschriften.
Deze kunnen ook worden gedownload op onze website of via contact met engcon. |
![]()
Afbeelding19.
|
1. Plaats de bijgevoegde waarschuwingssticker bij de plaats van de machinist op een duidelijk zichtbare, maar niet storende plaats in de cabine.
|
|||
|
||||
|
2. Voer een functiecontrole uit, raadpleeg uw servicepartner.
|
||||
|
- Activeer het werktuig een paar keer om eventuele lucht uit het systeem te laten ontsnappen. Dit is van belang om ongewilde bewegingen van het werktuig te vermijden.
- Controleer of de machinebevestiging werkt. Activeer de werktuigvergrendeling.
- Controleer of de slangen eventueel worden blootgesteld aan beschadiging door beknelling, snijden of spanning.
|
![]() |
Gevaar
| |
|
De grenzen voor kantelbelasting mogen niet worden overschreden. Het gewicht van het product en de extra reikwijdte kunnen de stabiliteit nadelig beïnvloeden. Risico op persoonlijk letsel en schade aan eigendom.
|
![]() |
Zie aanvullende informatie in aparte gebruikershandleiding voor het van toepassing zijnde werktuig.
|
![]() |
Waarschuwing
| |
|
Werk voorzichtig tijdens hantering van lange voorwerpen. Houd rekening met het levende gewicht en het toenemende risicogebied. Risico op persoonlijk letsel en schade aan eigendom.
|
![]() |
Waarschuwing
| |
|
Waarborg altijd een goede grip tijdens het tillen voorwerpen. Risico op persoonlijk letsel en schade aan eigendom.
|
|
Belangrijk
| ||
|
Controleer de maximaal aangegeven capaciteit van de graafmachine. Gebruik van het product met meer dan de maximum aangegeven capaciteit kan schade aan de machine veroorzaken.
|
|
Goedgekeurd
|
Niet goedgekeurd
|
|
![]() |
![]() |
![]() |
|
|
|
|
|
Hijshaak
|
Hijsoog
|
|
![]() |
![]() |
|
Artikelnummer
|
Benaming
|
Max. belasting
|
|---|---|---|
|
1072513
|
S60-upgrade kit-Lifting hook bolted 5T
|
5000 kg
|
|
1074575
|
S60-upgrade kit-Lifting ear bolted 5T
|
5000 kg
|
![]() |
Waarschuwing
| |
|
De basismachine moet zijn uitgerust met lasthoudkleppen op giek/lepelsteel en een overbelastingswaarschuwing bij het gebruik van een hijspunt op het draaikantelstuk. Risico op persoonlijk letsel en beschadiging van eigendom.
|
5.3.1. Aankoppelen uitrustingsstuk |
![]() |
|||
|
Activeer de functie van de werktuigvergrendeling.
|
||||
|
Activeer het hydraulische systeem om de vergrendelspieën te bedienen.
|
![]() |
|||
|
3. Controleer of de indicatiepen uit staat.
|
![]() |
|||
|
Beweeg de machinebevestiging in de richting van het werktuig.
|
![]() |
|||
|
Zorg dat het uitrustingsstuk zo geplaatst is dat de as met hetEC-Oil-blok zo dicht mogelijk bij de basismachine is geplaatst. Indien het uitrustingsstuk correct staat moet het blok te zien zijn aan de linkerkant van de as, gezien vanuit de cabine.
|
||||
|
Koppel het werktuig aan door de snelwissel in de richting van de ene
as van het werktuig te bewegen.
|
![]() |
|||
|
Q-Safe: Het akoestisch en lichtsignaal wordt geactiveerd.
|
||||
|
||||
|
Hef de machinebevestiging iets op, zodat het werktuig in de machinebevestiging schuift.
|
![]() |
|||
|
Deactiveer de functie van de werktuigvergrendeling.
Het werktuig is niet helemaal aangekoppeld voordat het hydraulische systeem is geactiveerd en de indicatie "open positie" niet langer zichtbaar is. |
![]() |
|||
|
||||
|
Activeer het hydraulische systeem voor bediening van de vergrendelspieën.
|
![]() |
|||
|
||||
|
Controleer of de vergrendelfunctie van de machinebevestiging pakt:
|
![]() |
|||
|
De gesloten positie is bereikt wanneer de oranje indicatiepen niet meer uit de machinebevestiging steekt. Het geluids- en lichtsignaal worden uitgeschakeld als de koppeling op de juiste manier is aangesloten.
|
||||
|
||||
5.3.2. Afkoppelen uitrustingsstuk |
![]() |
|||
|
Plaats het werktuig op de grond, met de vergrendelspieën weg van de cabine.
|
||||
|
Deactiveer de functie van de werktuigvergrendeling.
|
![]() |
|||
|
Activeer de hydraulische werking en de vergrendelspieën.
|
![]() |
|||
|
De vergrendelcilinders worden geactiveerd.
|
![]() |
|||
|
De open stand is bereikt zodra de oranje indicatiepen zichtbaar is. Q-Safe: Het akoestisch en lichtsignaal wordt geactiveerd.
|
||||
|
||||
|
In deze stand zit het werktuig los!
|
||||
|
De vergrendelspieën staan nu in de open stand en het werktuig zit los. Til de machinebevestiging voorzichtig weg van het werktuig.
|
![]() |
|||
![]() |
Gevaar
| |
|
Controleer de bevestigingen regelmatig en let vooral op scheurvorming. Risico op persoonlijk letsel en schade aan eigendom.
|
![]() |
Waarschuwing
| |
|
Waarborg dat alle service- en onderhoudswerkzaamheden worden verricht volgens de aanbevelingen van de fabrikant. Gebrekkig onderhoud kan defecten aan de basismachine en toebehorende uitrusting veroorzaken.
|
![]() |
Waarschuwing
| |
|
Bij het vervangen van slangen mogen er alleen slangen met een perskoppeling worden gebruikt. Gebruik geen schroefkoppelingen. Risico op persoonlijk letsel en beschadiging van eigendom.
|
|
Belangrijk
| ||
|
Denk aan het gevaar voor mens en milieu wat betreft hydraulische olie en smeervet. Lees de veiligheidsvoorschriften voor de door u gebruikte hydraulische olie en smeervet. Risico op persoonlijk letsel en schade aan het milieu.
|
|
Belangrijk
| ||
|
Maak uw product altijd zorgvuldig schoon. Gebrekkige reiniging kan schade aan de uitrusting veroorzaken.
|
![]() |
Waarschuwing
| |
|
Vermijd contact met hete hydraulische olie. Denk aan het risico op brandwonden.
|
![]() |
Waarschuwing
| |
|
Gebruik nooit uw handen om lekkage in het hydraulische systeem op te sporen. Gebruik hiervoor bedoelde veiligheidsuitrusting. Hydraulische olie die onder druk staat kan de huid penetreren. Risico op persoonlijk letsel.
|
![]() |
Waarschuwing
| |
|
Let vooral op de beweegbare details. Onoplettendheid kan beknellingsschade veroorzaken. Risico op persoonlijk letsel.
|
![]() |
Waarschuwing
| |
|
Het hydraulische systeem moet drukloos worden gemaakt voordat met werkzaamheden in het systeem een aanvang wordt genomen. Risico op persoonlijk letsel en schade aan eigendom.
|
![]() |
Waarschuwing
| |
|
Waarborg dat de basismachine is uitgezet en dat het contact aan staat voordat de schakelaar van de werktuigvergrendeling wordt gecontroleerd. Risico op persoonlijk letsel en schade aan eigendom.
|
![]() |
Waarschuwing
| |
|
Controleer altijd of de vergrendelspieën helemaal aanliggen volgens de voorschriften voor de geldende machinebevestiging. Werktuigen die aan de machinebevestiging zijn gekoppeld, mogen alleen worden gebruikt als de vergrendeling correct heeft plaatsgevonden. Risico op persoonlijk letsel en beschadiging van eigendom.
|
![]() |
Waarschuwing
| |
|
Lassen is niet toegestaan. Dit kan de veiligheid negatief beïnvloeden. Risico op persoonlijk letsel en schade aan eigendom. Voor laswerk, raadpleeg uw dealer of engcon Nordic AB.
|
![]() |
Waarschuwing
| |
|
Vervang beschadigde/onleesbare stickers/plaatjes voordat de machine in gebruik wordt genomen. Risico op persoonlijk letsel en schade aan eigendom.
|
|
Reiniging
|
![]() |
|
- Oliekoppelingen, elektrische koppelingen, smeerkoppelingen en vuilbeschermingen moeten vóór en na gebruik worden schoongemaakt, om lekkage van olie of vet te voorkomen en de werking van EC-Oil te garanderen.
- Indien zich ondanks reiniging nog steeds olie- of vetlekkage voordoet, raden wij aan om de vlakafdichting te vervangen.
- Reinig de elektrische aansluitingen dagelijks en spuit ze in met een waterafstotende spray.
|
|
|
Afbeelding20. Bildtext
|
|
Vlakafdichting vervangen
|
![]()
Afbeelding21.
|
|||
|
Van toepassing op hydraulische koppelingen op de snelwissel.
|
||||
|
1. Verwijder de huidige vlakafdichting met behulp van een scherp gereedschap.
2. Monteer de nieuwe vlakafdichting voorzichtig met behulp van uw vingers.
|
||||
|
|
Verbinding
|
Afmeting
|
Kwaliteit
|
Aantal
|
Koppel
|
|---|---|---|---|---|
|
Asvergrendeling
|
M8
|
12.9
|
8
|
40 Nm
|
|
Verbinding
|
Afmeting
|
Kwaliteit
|
Aantal
|
Koppel
|
|---|---|---|---|---|
|
Asvergrendeling
|
M12
|
12.9
|
8
|
136 Nm
|
|
Hijspunt
|
M10
|
12.9
|
5
|
79 Nm
|
|
Verbinding
|
Afmeting
|
Kwaliteit
|
Aantal
|
Koppel
|
|---|---|---|---|---|
|
Asvergrendeling
|
M12
|
12.9
|
8
|
136 Nm
|
|
Verbinding
|
Afmeting
|
Aantal
|
Koppel
|
|---|---|---|---|
|
Hydraulische koppeling ECO
|
ECO40-80
|
2
|
60 Nm
|
![]()
Afbeelding22.
|
![]() |
|
Positie
|
Gedrag
|
Indicatie
|
Commentaar
|
|---|---|---|---|
|
1
|
1 keer knipperen
*_*_*_ |
Voedingsspanning OK
|
Van toepassing op DC2 zonder QSC
|
|
2 keer knipperen
**_**_**_ |
Voedingsspanning OK
|
Van toepassing op QSC
|
|
|
Vast licht
|
Voedingsspanning OK
|
Van toepassing op SS0-SS9 zonder QSC
|
|
|
2
|
1 keer knipperen
*_*_*_ |
CAN time out
|
Van toepassing op QSC
|
|
2 keer knipperen
**_**_**_ |
Kortsluiting toevoer naar sensor in EC
|
Van toepassing op SS0-SS9 zonder QSC en tijdens het opstarten van QSC
|
|
|
3 keer knipperen
***_***_***_ |
Kortsluiting toevoer naar sensor in RF
|
Van toepassing op SS0-SS9 zonder QSC en tijdens het opstarten van QSC
|
|
|
3 keer knipperen
***_***_***_ |
Kortsluiting toevoer naar sensor in EC
|
Van toepassing op DC2
|
|
|
Inactief
|
Geen storing
| ||
|
3
|
Vast licht
|
Aangesloten uitrustingsstuk
|
Sensor op haak voor snelwissels op de machine
|
|
4
|
Vast licht
|
Aangesloten uitrustingsstuk
|
Sensor op uitstoter voor snelwissel op de machine
|
|
5
|
1 keer knipperen
*_*_*_ |
Losgekoppeld draaikantelstuk
|
Van toepassing op DC2
|
|
Vast licht
|
Aangesloten uitrustingsstuk
|
Sensor op haak voor snelwissels onder het draaikantelstuk
|
|
|
6
|
1 keer knipperen
*_*_*_ |
Losgekoppeld draaikantelstuk
|
Van toepassing op DC2
|
|
Vast licht
|
Aangesloten uitrustingsstuk
|
Sensor op uitstoter voor snelwissels onder draaikantelstuk
|
|
|
7
|
Knippert wit in combinatie met pulserende sirene (Normaal tijdens koppelingsprocedure)
|
Onjuist aangesloten werktuig
|
Controleer de bevestiging
|
![]() |
Waarschuwing
| |
|
Vervang beschadigde/onleesbare stickers/plaatjes voordat de machine in gebruik wordt genomen. Risico op persoonlijk letsel en schade aan eigendom.
|


![]() |
Werk voorzichtig tijdens hantering van lange voorwerpen. Houd rekening met het levende gewicht en het toenemende risicogebied.
|
![]() |
Sta of zit nooit onder een opgeheven werktuig!
|
![]() |
Houd afstand voor draaiende, kantelende en zijdelingse verplaatsing van werktuigen! Risicogebied 3 meter.
|
![]() |
Beknellingsgevaar bij beweegbare onderdelen.
|
![]() |
De voor de machine goedgekeurde kantelbelasting mag nooit worden overschreden.
|
![]() |
Sta of zit nooit onder een hangende lading.
|
![]() |
Belangrijk om het gewicht van het draaikantelstuk af te trekken bij de hefberekening.
|
![]() |
Lees de gebruikershandleiding.
|

|
Beschrijving
|
S30
|
S40-EC204
|
S40-EC206
|
S45
|
S60
|
S70
|
|
|---|---|---|---|---|---|---|---|
|
Asdiameter (A)
|
mm
|
30
|
40
|
40
|
45
|
60
|
70
|
|
Breedte (B)
|
mm
|
180
|
200
|
200
|
290
|
338
|
450
|
|
Lengte (C)
|
mm
|
230
|
300
|
300
|
430
|
480
|
600
|
|
Opbouwhoogte (D)
|
mm
|
100
|
103
|
135
|
150
|
185
|
205
|
|
Gewicht*
|
kg
|
-
|
-
|
-
|
-
|
-
|
-
|
|
Aanbevolen hydraulische druk openen/sluiten
|
MPa
|
21 / 3-6
|
21-25
|
21-25
|
21-25
|
21-25
|
21-25
|
|
Max. hydraulische druk
|
MPa
|
22
|
22
|
22
|
35
|
35
|
35
|
|
Gewicht basismachine**
|
t
|
1-2
|
2-6
|
2-6
|
6-11
|
12-19
|
20-30
|
|
Woord
|
Beschrijving
|
|---|---|
|
Basismachine
|
De machine die de van toepassing zijnde uitrusting draagt. Graafmachine of graafladers.
|
|
EC-Oil
|
Automatisch oliekoppelingssysteem voor hydraulisch wisselen van werktuig direct vanuit de cabine. Zie punt 3.3. EC-Oil.
|
|
EC-Oil blok H (Hitch)
|
Zit in machine- of werktuigbevestiging.
|
|
EC-Oil blok T (Top)
|
Zit in bovenstuk van hydraulische werktuigen en/of het draaikantelstuk.
|
|
Drukstuk
|
Verbinding tussen opbreekcilinder en machinebevestiging, alternatief direct gemonteerd draaikantelstuk.
|
|
Machinebevestiging
|
Werktuigbevestiging die direct op de lepelsteel van de graafmachine wordt gemonteerd.
|
|
Lepelsteel
|
"Arm" vooraan op de graafmachine.
|
|
Kantelbelasting
|
Geeft het maximale gewicht aan dat de graafmachine kan optillen zonder voorwaarts te kantelen.
|
|
Woord
|
Beschrijving
|
|---|---|
|
QLM
|
Licht- en geluidssignaal dat waarschuwt wanneer de bak of een ander werktuig niet op correcte wijze is aangekoppeld.
|
|
QSC
|
Gestandaardiseerd vergrendelsysteem van engcon waarmee alle soorten machine- en werktuigbevestigingen kunnen worden bediend.
|
|
Service-
interval |
Datum
|
Bedrijfs-
uren |
Opmerking/maatregel
|
Stempel/
Paraaf |
|
![]() |
|||||
|
Service-
interval |
Datum
|
Bedrijfs-
uren |
Opmerking/maatregel
|
Stempel/
Paraaf |
|
![]() |
|||||
|
Service-
interval |
Datum
|
Bedrijfs-
uren |
Opmerking/maatregel
|
Stempel/
Paraaf |
|
![]() |
|||||
|
Service-
interval |
Datum
|
Bedrijfs-
uren |
Opmerking/maatregel
|
Stempel/
Paraaf |
|
![]() |
|||||
|
engcon Australia Pty Ltd
+61 2 7252 5279 australia@engcon.com |
engcon Ireland Ltd
+353 15 686 742 ireland@engcon.com |
|
engcon Austria GmbH
+46 676 3786239 info-at@engcon.com |
engcon Korea Ltd
+82 70 4472 9978 engcon_kor@engcon.com |
|
engcon Belgium BVBA
+32 15 79 73 10 belgium@engcon.com |
engcon Netherlands
+31 85 82 23 550 netherlands@engcon.com |
|
engcon Canada Inc.
+1 438-226-1716 canada@engcon.com |
engcon North America Inc.
+1 203 691 5920 northamerica@engcon.com |
|
engcon Denmark A/S
+45 70 20 13 50 info@engcon.dk |
engcon Norway AS
+47 22 75 44 44 norge@engcon.com |
|
OY engcon Finland AB
+358 6322 815 finland@engcon.com |
engcon Poland Sp. z o.o.
+48 61 894 00 47 info@engcon.pl |
|
engcon France SAS
+33 1 60 79 49 70 france@engcon.com |
engcon Sweden AB
+46 670 65 04 00 sweden@engcon.com |
|
engcon Germany GmbH
+49 9342 934 85 0 germany@engcon.com |
engcon UK Ltd
+44 1684 297168 uk@engcon.com |
|
engcon International
+46 670 178 00 international@engcon.com |
